BENZYL ALCOHOL




Method number:PV2009

Matrix:Air
 
Target concentration:5 ppm (22 mg/m3)
 
Procedure:Samples are collected by drawing a known volume of air through an XAD-7 tube. Samples are desorbed with methanol and analyzed by gas chromatography with a flame ionization detector (GC-FID).
 
Air volume and sampling
rate studied:
24 Liters at 0.2 Lpm
 
Status of method:Stopgap method. This method has been only partially evaluated and is presented for information and trial use.
 
Date: July, 1993Chemist: Mary E. Eide



Organic Service Branch I
OSHA Salt Lake Technical Center
Salt Lake City, Utah




1. General Discussion

1.1. Background

1.1.1. History of procedure

OSHA method 32 recommends collection of phenol and cresol on XAD-7 tubes and desorption with methanol (Ref. 5.1.). Since benzyl alcohol is similar in structure to phenol and cresol, this method of collection and analysis was tried and found to give good recoveries for retention, desorption, and storage.

1.1.2. Potential workplace exposure (Ref. 5.2 and 5.3.)

Benzyl alcohol is a component of many naturally occurring perfume oils, including jasmine, hyacinth, and ylang-ylang. Benzyl alcohol and its esters are used in making perfumes and flavorings. Benzyl alcohol is used in the manufacture of other benzyl compounds, in cosmetics, in ointments, as a bacteriostat, as a photographic developer for color film, and as an embedding material in microscopy. It is used as a solvent for gelatin, casein, cellulose acetate, shellac, dyestuffs, and waxes.

1.1.3. Toxic Effects (This section is for information purposes and should not be taken as the basis for OSHA policy.)(Ref. 5.3.)

Benzyl alcohol is a moderate skin and mucous membrane irritant, and a severe eye irritant. In a human skin exposure, over a 48 hour period, 16 mg caused mild contact dermatitis.

1.1.4. Physical properties (Ref. 5.2 and 5.3.):

Compound:
Synonyms:Benzenecarbinol; Benzenemethanol; Benzoyl alcohol; a-Hydroxytoluene; Phenylcarbinol; Phenylmethanol; a-Toluenol
Molecular weight:108.13
Density: 1.04156
Freezing point: -15.19°C
Boiling point: 204.7°C
Flash point: 10l°C (213°F) (closed cup);
105°C (220°F) (open cup)
Odor:faintly aromatic
Color:clear liquid
Molecular formula:C7H8O
CAS: 100-51-6
IMIS: 0337
RTECS: DN3150000; 19460

1.2. Limit defining parameters

1.2.1. The detection limit of the analytical procedure is 1 µg benzyl alcohol. This is the smallest amount that could be detected under normal operating conditions.

1.2.2. The overall detection limit is 0.009 ppm. (All ppm amounts in this study are based on a 24 L air volume.)

1.3. Advantages

1.3.1. The sampling procedure is convenient.

1.3.2. The analytical method is reproducible and sensitive.

1.3.3. Reanalysis of samples is possible.

1.3.4. It may be possible to analyze other compounds at the same time.

1.3.5. Interferences may be avoided by proper selection of column and GC parameters.

1.4. Disadvantages

None known

2. Sampling procedure

2.1. Apparatus

2.1.1. A calibrated personal sampling pump, the flow of which can be determined within ± 5% at the recommended flow.

2.1.2. XAD-7 tubes containing 15/50 mesh XAD-7 with a 100 mg adsorbing section with a 50 mg backup section separated by a silanized glass wool plug, with a silanized glass wool plug before and after the adsorbing sections. The ends are flame sealed and the glass tube containing the adsorbent is 8 cm long, with a 8 mm O.D. and 6 mm I.D., SKC tubes or equivalent.

2.2. Sampling technique

2.2.1.Open the ends of the XAD-7 tube immediately before sampling.

2.2.2.Connect the XAD-7 tube to the sampling pump with flexible tubing.

2.2.3.Place the tubes in a vertical position to minimize channeling, with the smaller section towards the pump.

2.2.4.Air being sampled should not pass through any hose or tubing before entering the XAD-7 tube.

2.2.5.Seal the XAD-7 tube with plastic caps immediately after sampling. Seal each sample lengthwise with OSHA Form-21 sealing tape.

2.2.6.With each batch of samples, submit at least one blank tube from the same lot used for samples. This tube should be subjected to exactly the same handling as the samples (break ends, seal, & transport) except that no air is drawn through it.

2.2.7.Transport the samples (and corresponding paperwork) to the lab for analysis.

2.2.8.Bulks submitted for analysis must be shipped in a separate mailing container from other samples.

2.3. Desorption efficiency

Six tubes were spiked at each loading of 52.1 µg (0.49 ppm), 260 µg (2.45 ppm), 521 µg (4.91 ppm), and 1042 µg (9.82 ppm) benzyl alcohol. They were allowed to equilibrate overnight at room temperature. They were opened, each section placed into a separate 2 mL vial, desorbed with 1 mL of the desorbing solution of methanol with 0.25 µL/mL DMF internal standard, for 30 minutes with occasional shaking, and were analyzed by GC-FID. The overall average was 97.1%.(Table 1)

Table 1
Desorption Efficiency


Tube# % Recovered
52.1µg260µg521µg1042µg

197.497.395.698.5
297.897.196.898.5
3 95.9 96.397.098.1
4 97.495.9 98.0 97.6
5 98.395.998.0 97.5
6 95.996.595.998.3
Average 97.196.596.998.1
Overall average97.1
Standard deviation± 0.96

2.4. Retention efficiency

Six tubes were spiked with 1042 µg (9.8 ppm) benzyl alcohol, allowed to equilibrate 4 hours at room temperature, and had 24 liters humid air (81% RH) pulled through them at 0.2 Lpm. They were opened, desorbed, and analyzed by GC-FID. The recoveries in Table 2 are corrected for desorption efficiency. The retention efficiency averaged 99.1%. There was little benzyl alcohol found on the backup portions of the tubes.(Table 2)

Table 2
Retention Efficiency


Tube #% Recovered% RecoveredTotal
'A''B'

11000.0100
299.10.299.3
398.30.098.3
497.80.0 97.8
599.80.199.9
699.20.199.3
average99.1

2.5. Storage

Tubes were spiked with 521 µg (4.91 ppm) benzyl alcohol and stored at room temperature until opened and analyzed. The recoveries in Table 3 are corrected for desorption efficiency. The recoveries averaged 99.0% for the 14 days stored.(Table 3)

Table 3
Storage Study


Day% Recovered

897.9
899.3
8101
14100
1497.7
1497.9
average99.0

2.6. Precision

The precision was calculated using the area counts from six injections of each standard at concentrations of 52.1, 260, 521, and 1042 µg/mL benzyl alcohol in the desorbing solvent. The pooled coefficient of variation was 0.00974.(Table 4)

Table 4
Precision Study


Injection
Number52.1µg/mL260µg/mL521µg/mL1042 µg/mL

125772129634264566531424
225910128549262945527847
325757129078262405528930
425260130614 263425531787
525202129180265395528788
625396128878265619528942
Average25550129322264059529620
Standard
Deviation± 300727 13311595
CV0.01770.005620.00504 0.00301
Pooled CV0.00974

where:

formula for pooled coefficient of variation

A(1), A(2),A(3),A(4) = # of injections at each level
CVl, CV2, CV3, CV4 = Coefficients at each level

2.7. Air volume and sampling rate studied

2.7.1. The air volume studied was 24 liters.

2.7.2. The sampling rate studied was 0.2 liters per minute.

2.8. Interferences

Suspected interferences should be listed on sample data sheets.

2.9. Safety precautions

2.9.1. Sampling equipment should be placed on an employee in a manner that does not interfere with work performance or safety.

2.9.2. Safety glasses should be worn at all times in designated areas.

2.9.3. Follow all safety practices that apply to the workplace being sampled.

3. Analytical method

3.1. Apparatus

3.1.1. Gas chromatograph equipped with a flame ionization detector. A HP 5890 gas chromatograph was used in this study.

3.1.2. GC column capable of separating the analyte and an internal standard from any interferences. The column used in this study was a 60 meter DB-1 capillary column with 1.0µ film thickness and 0.32 mm I.D.

3.1.3. An electronic integrator or some other suitable method of measuring peak areas.

3.1.4. Two milliliter vials with Teflon-lined caps.

3.1.5. A 10 µL syringe or other convenient size for sample injection.

3.1.6. Pipets for dispensing the desorbing solution. The Glenco 1 mL dispenser was used in this method.

3.1.7. Volumetric flasks - 5 mL and other convenient sizes for preparing standards.

3.2 Reagents

3.2.1. Purified GC grade nitrogen, hydrogen, and air.

3.2.2. Benzyl alcohol, Reagent grade

3.2.3. Methanol, HPLC grade

3.2.4. Dimethyl formamide, Reagent grade, used as internal standard at a concentration of 0.25 µL/mL.

3.3. Sample preparation

3.3.1. Sample tubes are opened and the front and back section of each tube are placed in separate 2 mL vials.

3.3.2. Each section is desorbed with 1 mL of the desorbing solution of methanol with 0.25 µL/mL dimethyl formamide used as internal standard.

3.3.3. The vials are sealed immediately and allowed to desorb for 30 minutes with occasional shaking.

3.4. Standard preparation

3.4.1. At least two separate standards are prepared by diluting a known quantity of benzyl alcohol with the desorbing solution at a concentration of 521 µg/ml (0.5 µL/mL).

3.4.2. Additional analytical standards should be prepared at a higher concentration, 2 µL/mL, and a lower concentration, l/10 dilution of one of the two standards at 521 µg/ml, to check the linearity of the detector. For this study one standard at 52.1 µg/mL (0.05 µL/mL), two standards at 521 µg/mL (0.5 µL/mL), and one standard at 2083 µg/mL (2 µL/mL) were used.

3.5. Analysis

3.5.1. Gas chromatograph conditions.

Flow rates (mL/min.)Temperature (°C)
Nitrogen(make-up): 30 Injector: 180
Hydrogen(carrier): 2 Detector: 220
Hydrogen(detector): 60 Column: 80
Air: 420 l0°/min to 160
Injection size: 1 µL
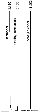
Chromatogram: see Figure 1

3.5.2. Peak areas are measured by an integrator or other suitable means.

3.6. Interferences (analytical)

3.6.1. Any compound having the general retention time of the analyte or the internal standard used is an interference. Possible interferences should be listed on the sample data sheet. GC parameters should be adjusted if necessary so these interferences will pose no problems.

3.6.2. Retention time data on a single column is not considered proof of chemical identity. Samples over the target concentration should be confirmed by GC/Mass Spec or other suitable means.

3.7. Calculations

3.7.1. The instrument is calibrated with a standard of 521 µg/mL (0.5 µL/mL) benzyl alcohol in the desorbing solution. The linearity of the calibration was checked with standards of 52.1 µg/mL (0.05 µL/mL) and 2083 µg/mL (2 µL/mL) benzyl alcohol in the desorbing solution.

3.7.2. If the calibration is non-linear, two additional standards must be analyzed so a calibration curve can be plotted and sample values obtained.

3.7.3. To calculate the concentration of analyte in the air sample the following formulas are used:

(µg/m) (desorption volume)
(desorption efficiency)
= mass of analyte in sample

(mass of analyte in sample)
molecular weight
= number of moles of analyte

(number of
moles of analyte)
(molar volume at
25°C & 760mm)
= volume the analyte will
occupy at 25°C & 760mm

(volume analyte occupies) (106)*
(air volume)
= ppm

* All units must cancel.

3.7.4. The above equations can be consolidated to form the following formula. To calculate the ppm of analyte in the sample based on a 10 liter air sample :

(µg/mL)(DV)(24.45)(106)
(10 L)(DE)(MW)
× (g)
(1000 mg)
× (mg)
(1000 µg)
= ppm

µg/mL = concentration of analyte in sample or standard
24.45 = Molar volume (liters/mole) at 25 ° and 760 mm Hg.
Mw = Molecular weight (g/mole)
DV = Desorption volume
10 L = 10 liter air sample
DE = Desorption efficiency

3.7.5. This calculation is done for each section of the sampling tube and the results added together.

3.8. Safety precautions

3.8.1. All handling of solvents should be done in a hood.

3.8.2. Avoid skin contact with all chemicals.

3.8.3. Wear safety glasses, gloves and a lab coat at all times.

4. Recommendations for further study

Collection studies need to be performed.

Figure 1. An analytical standard of 521 µg/mL benzyl alcohol in methanol with 0.25 µL/mL dimethyl formamide internal standard.

5. References

5.1. Cummins, K., Method 32, "Phenol and Cresol", Organic Methods Evaluation Branch, OSHA Salt Lake Technical Center, 1986.

5.2. Windholz, M., "The Merck Index", Eleventh Edition, Merck & Co., Rahway N.J., 1989, p. 176.

5.3. Lewis, R., "Hawley's Condensed Chemical Dictionary", Twelfth Edition, Van Nostrand Reinhold Co., New York, 1993, p. 134.