DOL logo

TOLUENE




Method number: 111
 
Matrix: Air
 
 

Target concentration:
OSHA PEL:
ACGIH TLV:
TWA
200 ppm (753 mg/m3)
200 ppm (753 mg/m3)
  50 ppm (188 mg/m3)
Ceiling (10 min)
300 ppm (1130 mg/m3)
300 ppm (1130 mg/m3)
none
Peak
500 ppm (1883 mg/m3)
500 ppm (1883 mg/m3)
none
 
Procedure: Adsorbent tube samples are collected by drawing workplace air through either coconut shell charcoal or Anasorb® 747 tubes with personal sampling pumps. Diffusive samples are collected by exposing either 3M 3520 Organic Vapor Monitors (OVMs) or SKC 575-002 Passive Samplers to workplace air. Samples are desorbed with 60/40 (v/v) N,N-dimethylformamide/carbon disulfide (DMF/CS2) and analyzed by gas chromatography using a flame ionization detector.
 
Recommended sampling
parameters:

TWA Samples

Ceiling Samples

Peak Samples
Adsorbent tubes
    Sampling rate: 50 mL/min 50 mL/min 50 mL/min
    Sampling time: < 240 min > 10 min > 1 min
 
Diffusive samplers
    Exposure time: < 240 min > 10 min Not Recommended
 
 
Charcoal
Tubes
Anasorb®747
    Tubes
3M 3520
OVMs    
SKC 575-002
Samplers
Reliable quantitation limit:
(240-min samples)
18.1 ppb
(68.3 µg/m3)
25.4 ppb
(95.5 µg/m3)
82 ppb
(309 µg/m3)
224 ppb
(844 µg/m3)
 
Standard error
of estimate at:
    TWA: (240 min)
    Ceiling: (10 min)
    Peak: (1 min)
5.5%
5.2%
5.2%
5.2%
5.1%
5.4%
7.2%
7.9%
----
9.2%
9.5%
----
 
* For samples where sampling site atmospheric pressure and temperature are known. When either or both of these values are unknown, see Section 4.6 for applicable standard errors of estimate.
 
Status of method: Evaluated method. This method has been subjected to the established evaluation procedures of the Organic Methods Evaluation Branch.
 
Date: April 1998 Chemist: Carl J. Elskamp




Organic Methods Evaluation Branch
OSHA Salt Lake Technical Center
Salt Lake City, UT 84115-1802




1. General Discussion

1.1 Background

1.1.1 History

The determination of toluene in air has consistently been one of the top analyses performed at the OSHA Salt Lake Technical Center (SLTC) for the last 25 years. It is based on a pioneering method developed by Otterson and Guy to determine airborne solvent vapors. (Ref. 5.1) Samples were collected by drawing air through glass tubes packed with 4 inches of 20/40 mesh activated charcoal, then desorbed with an appropriate solvent and analyzed by GC. Further developmental work was done to incorporate a flame-sealed tube containing two 1-inch sections of activated charcoal. (Ref. 5.2) Procedures for a multitude of solvents were subsequently evaluated through NIOSH based on a standardized "NIOSH charcoal tube" consisting of two sections of coconut shell activated charcoal contained in a 7-cm flame sealed glass tube. The front section contains 100 mg and the back section 50 mg of charcoal. There are at least three different methods for toluene using this sampling tube that utilize carbon disulfide (CS2) as the desorption solvent. (Refs. 5.3-5.5)

In the work presented here, tests were done to validate procedures for charcoal tubes as well as Anasorb® 747 tubes. Additional tests were done so the new method can also be used for determinations of peak and ceiling exposures to toluene. Also, the recommend sampling rate was reduced to 50 mL/min to allow samples to be taken for as long as 240 minutes, which makes it convenient to assess an all-day exposure to a worker by taking only two samples. The most significant change was in the solvent used to desorb the samples.

When air is drawn through activated charcoal tubes, a significant amount of water may be collected by adsorption along with the analytes of interest. (Ref. 5.6) The amount of water collected is dependent on the water content of the air and the volume of air sampled. Water is not very soluble in CS2, thus when samples containing excessive amounts of water are desorbed with this commonly used solvent, the desorbed water can form a separate layer. Only the CS2 layer is analyzed by GC, so if an analyte of interest is appreciably soluble in water, it will partition into the aqueous layer and the concentration of the analyte may be grossly under determined. This problem does not occur for toluene because being fairly nonpolar, it is very soluble in CS2 and only partially soluble in water. But toluene is frequently used with a mixture of solvents in workplaces, some of which may be very soluble in water. It is often desirable to analyze the mixture of solvents simultaneously from the same sample, so a solution to this problem was to use a desorption solvent that would result in a homogeneous solution that includes water after the samples are desorbed and one that would also desorb the analytes of interest with high efficiency.

A desorption solvent mixture consisting of 60/40 (v/v) N,N-dimethylformamide/carbon disulfide (DMF/CS2) was successfully used in some recently validated SLTC methods for low molecular weight alcohols (Refs. 5.7-5.9) and was chosen for this present work. One milliliter of this solvent will assimilate up to 50 mg of water at room temperature and desorbs a wide variety of solvents with high efficiency.

It is imperative that an internal standard procedure be used in the analysis to compensate for the water that is desorbed and put into solution. For instance, if an external standard method is used and a sample that contains 45 mg of water is desorbed with 1.00 mL of 60/40 DMF/CS2, an uncorrectable error of approximately 4.5% is introduced. The amount of water (in this case 45 mg or 0.045 mL) that was adsorbed by the adsorbent is not determined in the analysis, so a correction for the dilution of the sample by the desorbed water can not be made. In this case, the final volume of the desorption solution is approximately 1.045 mL because of the desorbed water, not 1.00 mL. The necessary correction is automatically made when an internal standard procedure is used. Not only does the internal standard procedure compensate for any desorbed water, it also compensates for the volume of any other solvents that are also desorbed, which in some cases could be quite significant.

Recently, SLTC decided to evaluate diffusive samplers for possible alternative sampling devices for solvent vapors and gases. Extensive work was done to help determine the evaluation tests needed to validate this type of sampler for use by OSHA. (Ref. 5.10) The 3M Company markets two different samplers that are widely used for the determination of airborne solvent vapors. The 3500 Organic Vapor Monitor (OVM) has a single carbon disk, while the 3520 OVM has a secondary disk used as a backup sampler. By consensus decision, in order to have a common sampler and based on the aforementioned work done at SLTC, the 3520 OVM will be evaluated for all methods utilizing a 3M monitor, even though in many cases the 3500 OVMs may suffice. Also, by consensus decision, the SKC 575-002 Passive Sampler will be the first sampler considered for all methods utilizing an SKC Passive Sampler. Utilizing the same basic methodology that was used to evaluate the adsorbent tubes, the 3M 3520 OVM and SKC 575-002 Passive Sampler were validated for use in the determination of toluene in air. These diffusive samplers can also collect significant amounts of water (Ref. 5.11), so 60/40 DMF/CS2 is also used for the desorption solvent. Samples are desorbed with 2.00 mL instead of 1.00 mL that is used for adsorbent tube samples.

Under very controlled conditions in the laboratory, it was found that both the 3M and SKC diffusive samplers could be used to reliably sample for as short as 1 minute, which would make them useful to determine peak exposures. But in real world situations, mostly because the samplers begin sampling as soon as they are removed from their sealed containers, it was felt that there could be too much chance for introduction of significant sampling errors. Thus the shortest recommended sampling time for toluene using diffusive samplers was determined to be 10 minutes, making them valuable tools to assess ceiling exposures, provided diligent sampling techniques are used.

1.1.2 Toxic effects (Ref 5.12) (This section is for information only and should not be taken as the basis of OSHA policy.)

Toluene is a central nervous system depressant. Exposure to very high levels (15,000 to 30,000 ppm) for a short time may cause mental confusion, loss of coordination, and unconsciousness. Exposures to 200 ppm for 8 hours caused mild fatigue, weakness, confusion, lacrimation, and paresthesias (sensation of pricking, tingling, or creeping) of the skin. Exposures to 600 ppm for 8 hours produced additional effects including euphoria, headache, dizziness, dilated pupils, and nausea while at 800 ppm for 8 hours the symptoms were more pronounced and also included nervousness, muscular fatigue, and insomnia that persisted for days.

In another study, exposure to 100 ppm for 6 hours resulted in eye and nose irritation, and in some cases, headaches, dizziness, and a feeling of intoxication, but no significant differences in performance on some neurobehavioral tests were observed. No symptoms were noted at 10 or 40 ppm exposures.

Long-term inhalational abuse by glue-sniffers resulted in chronic organic brain dysfunction associated with cerebral and cerebellar atrophy. Some studies of workers chronically exposed to toluene suggested minor abnormalities on neuropsychological testing, but a recent study of 43 rotogravure printers exposed to average concentrations of 117 ppm for an average of 22 years failed to demonstrate significant clinical neuropsychological differences compared to a control group of unexposed workers.

Exposure to toluene does not result in the hematopoietic effects caused by benzene. Most of the toluene introduced in the body by inhalation is metabolized to benzoic acid, which is conjugated with glycine in the liver to form hippuric acid. The hippuric acid is then excreted in the urine.

Repeated or prolonged skin exposure to toluene causes skin drying, fissuring, and dermatitis. Liquid splashed in the eyes of two workers caused transient corneal damage and conjunctival irritation with complete recovery within 48 hours.

Recent inhalation studies on rats exposed to levels of 600 to 1200 ppm and mice exposed to 120, 600, or 1200 ppm for two years found no evidence of carcinogenic activity.

1.1.3 Workplace exposure

Toluene is used in the manufacture of benzoic acid, benzaldehyde, explosives, dyes and many other organic compounds. It is also used as a solvent for paints, lacquers, gums, and resins and as a thinner for inks, perfumes, and dyes. It is used in the extraction of various principles from plants. It is a component in gasoline and is also used as a gasoline additive. (Ref. 5.13)

1.1.4 Physical properties (Ref. 5.13 unless otherwise noted)

CAS number: 108-88-3
molecular weight: 92.14
boiling point: 110.6°C
melting point: -95°C
appearance: colorless liquid
density: 0.866 g/mL at 20°C
molecular formula: C7H8
vapor pressure: 2.92 kPa (21.9 mmHg) at 20°C (Ref. 5.14)
flash point: 40°F (4.4°C) (closed cup)
odor: benzene-like
explosive limits: 1.27-7% in air (Ref. 5.15)
solubility: very slightly soluble in water [0.067% (w/w) in water at 23.5°C]; miscible with alcohol, chloroform, ether, acetone, glacial acetic acid, carbon disulfide.
synonyms: methylbenzene; toluol; phenylmethane; Methacide.
structural formula:


The analyte air concentrations throughout this method are based on the recommended sampling and analytical parameters. TWA target concentration samples are based on 240 minutes, ceiling samples on 10 minutes and peak samples on 1 minute of sampling/diffusive sampler exposure. Air concentrations listed in ppb and ppm are referenced to 25°C and 101.3 kPa (760 mmHg).


1.2 Limit defining parameters

1.2.1 Detection limit of the analytical procedure

The detection limit of the analytical procedure is 2.60 pg. This is the amount of toluene that will give an instrument response that is significantly different from the background response of a reagent blank. (Sections 4.1 and 4.2)

1.2.2 Detection limit of the overall procedure

The detection limits of the overall procedure are 246 ng per sample (5.4 ppb or 20.5 µg/m3), 344 ng per sample (7.6 ppb or 28.7 µg/m3), 657 ng per sample (25 ppb or 93 µg/m3) and 904 ng per sample (67 ppb or 253 µg/m3) for charcoal tubes, Anasorb® 747 tubes, 3M 3520 OVMs and SKC 575-002 samplers respectively. These are the amounts of toluene spiked on the respective samplers that will give instrument responses that are significantly different from the background responses of respective sampler blanks. (Sections 4.1 and 4.3)

1.2.3 Reliable quantitation limit

The reliable quantitation limits are 820 ng per sample (18.1 ppb or 68.3 µg/m3), 1146 ng per sample (25.4 ppb or 95.5 µg/m3), 2190 ng per sample (82 ppb or 309 µg/m3) and 3012 ng per sample (224 ppb or 844 µg/m3) for charcoal tubes, Anasorb® 747 tubes, 3M 3520 OVMs and SKC 575-002 samplers respectively. These are the amounts of toluene spiked on the respective samplers that will give signals that are considered the lower limits for precise quantitative measurements. (Section 4.4)

1.2.4 Precision (analytical procedure)

The precisions of the analytical procedure, measured as the pooled relative standard deviations from standards over concentration ranges equivalent to 0.5 to 2 times the TWA target concentration, are 0.76%, 0.94% and 0.76% for the adsorbent tubes, 3M 3520 OVMs and SKC 575-002 samplers respectively. (Section 4.5)

1.2.5 Precision (overall procedure)

1.2.5.1 Adsorbent tubes samples

The precisions of the overall procedure at the 95% confidence level from the ambient temperature storage tests for TWA, ceiling and peak samples for charcoal tubes and Anasorb® 747 tubes are given in Table 1.2.5.1. The TWA samples are 240-min samples taken from 200-ppm atmospheres, the ceiling samples are 10-min samples taken from 300-ppm atmospheres and the peak samples are 1-min samples taken from 500-ppm atmospheres. (Section 4.6)

Table 1.2.5.1
Precision of the Overall Procedure at the 95% Confidence Interval
for Adsorbent Tubes


Adsorbent TWA Samples Ceiling Samples Peak Samples

Charcoal

Anasorb® 747
±10.8%

±10.1%
±10.2%

±10.1%
±10.3%

±10.5%

1.2.5.2 Diffusive samplers

The precisions of the overall procedure at the 95% confidence level from the ambient temperature storage tests for TWA and ceiling samples for 3M 3520 OVMs and SKC 575-002 samplers are given in Table 1.2.5.2. The TWA samples are 240-min samples taken from 200-ppm atmospheres and the ceiling samples are 10-min samples taken from 300-ppm atmospheres. There are different values given for each sampler for each of the levels, depending on whether the sampling site conditions are known. The possible cases would be when both, either, or neither temperature or atmospheric pressure are known. If the temperature is not known, the sampling site temperature is assumed to be 22.2±15°C (72±27°F) and a variability of ±7.7% is included. If the atmospheric pressure is not known, a variability ±3% is included. (Section 4.6)

Table 1.2.5.2
Precision of the Overall Procedure at the 95% Confidence Interval
for Diffusive Samplers When Sampling Site Temperature (T)
or Atmospheric Pressure (P) are Known or Unknown


           Sampler TWA Samples Ceiling Samples

3M 3520 OVM
    both T&P known
    only T known
    only P known
    neither T nor P known

SKC 575-002 Sampler
    both T&P known
    only T known
    only P known
    neither T nor P known

±14.1%
±15.3%
±20.6%
±21.5%


±18.0%
±18.9%
±23.5%
±24.3%

±15.5%
±16.6%
±21.7%
±22.4%


±18.6%
±19.5%
±23.9%
±24.7%

1.2.6 Recovery

The recovery of toluene from TWA samples used in 19-day storage tests remained above 99.9%, 99.5%, 102.5% and 97.3% for charcoal tubes, Anasorb® 747 tubes, 3M 3520 OVMs and SKC 575-002 samplers respectively when the samples were stored at ambient temperatures. The recovery of toluene from ceiling samples used in 15-day storage tests remained above 97.8%, 97.5%, 100.0% and 94.5% for charcoal tubes, Anasorb® 747 tubes, 3M 3520 OVMs and SKC 575-002 samplers respectively when the samples were stored at ambient temperatures. The recovery of toluene from peak samples used in 15-day storage tests remained above 94.8% and 95.2% for charcoal tubes and Anasorb® 747 tubes respectively when the samples were stored at ambient temperatures. (Section 4.7)

1.2.7 Reproducibility

Six samples at the TWA target concentration for each of the four different samplers that were collected from controlled test atmospheres, along with a draft copy of this procedure, were submitted to an SLTC service branch for analysis. The charcoal tube and the 3M 3520 OVM samples were analyzed 20 days after generation and the Anasorb® 747 tube and SKC 575-002 samples were analyzed 53 days after generation. All samples were stored at room temperature. No individual sample result deviated from its theoretical value by more than the precisions reported in Section 1.2.5. (Section 4.8)

2. Sampling Procedure

2.1 Apparatus

2.1.1 Adsorbent tube samples

2.1.1.1 Samples are collected using personal sampling pumps that have been calibrated, with sampling devices attached, to within ±5% at the recommended flow rate of 50 mL/min. The sampling devices consist of adsorbent tubes that are contained in commercially available tube holders (such as SKC Inc., Fullerton, CA, Catalog No. 222-3-1). The devices are connected to the pumps with flexible, non-crimpable tubing.

2.1.1.2 Samples are collected with 7-cm × 4-mm i.d. × 6-mm o.d. glass sampling tubes packed with two sections of either coconut shell charcoal or Anasorb® 747. Anasorb® 747 is a beaded activated carbon. SKC adsorbent tubes were used in this evaluation. Charcoal tubes (Catalog No. 226-01) contain 100 mg of adsorbent in the front section and 50 mg in the back section. Anasorb® 747 tubes (Catalog No. 226-81A) contain 140 mg of adsorbent in the front section and 70 mg in the back section. The adsorbent sections are held in place with glass wool plugs and are separated by urethane foam plugs. The ends of the glass sampling tubes are heat sealed. Lot 120 charcoal and Lot 299 Anasorb® 747 tubes were used for this evaluation.

2.1.2 Diffusive samplers

2.1.2.1 Samples are collected with either 3M (3M Occupational Health and Safety Products Division, St. Paul, MN) 3520 Organic Vapor Monitors (OVMs) or SKC 575-002 Passive Samplers (SKC, Inc., Fullerton, CA). The 3M 3520 OVMs are badges containing two activated charcoal disks. The secondary disk collects contaminant when the capacity of the primary disk has been exceeded. The SKC 575-002 Passive Samplers are badges that contain 500 mg of Anasorb® 747 adsorbent. Lot 5163009 3M OVMs and Lot 263 SKC 575-002 Samplers were used in this evaluation.

2.1.2.2 A thermometer to determine the sampling site air temperature.

2.1.2.3 A barometer to determine the sampling site atmospheric pressure.

2.2 Reagents

None required

2.3 Technique

2.3.1 Adsorbent tubes

2.3.1.1 Immediately before sampling, break off the ends of the adsorbent tube. All tubes should be from the same lot.

2.3.1.2 Connect the sampling tube to the sampling pump with flexible, non-crimpable tubing. It is desirable to utilize a sampling tube holder that shields the employee from the sharp, jagged end of the sampling tube. Position the tube so that sampled air first passes through the larger adsorbent section.

2.3.1.3 Air being sampled should not pass through any hose or tubing before entering the sampling tube.

2.3.1.4 To avoid channeling, place the sampling tube vertically in the employee's breathing zone. Position the sampler so it does not impede work performance or safety.

2.3.1.5 After sampling for the appropriate time, immediately remove the sampling tube and seal it with plastic caps. Wrap each sample lengthwise with a Form OSHA-21 seal.

2.3.1.6 Submit at least one blank sampling tube with each sample set. Blanks should be handled in the same manner as samples, except no air is drawn through them.

2.3.1.7 Record sample volumes (in liters of air), sampling times (minutes) and sampling rate (mL/min) for each sample on Form OSHA-91A.

2.3.1.8 Also list any compounds that could be considered potential interferences, especially solvents, that are being used in the sampling area.

2.3.1.9 Ship any bulk sample(s) in a container separate from the air samples.

2.3.2 3M OVMs (In general, follow the manufacturer's instructions supplied with the samplers.)

2.3.2.1 The monitors come individually sealed in small metal cans. When ready to begin sampling, remove the plastic lid from the can and lift up on the revealed ring. Pull back on the ring to open the can. Discard the metal top of the can and remove the monitor. CAUTION- The monitor immediately begins to sample when the can is unsealed.

2.3.2.2 Keep the two closure caps with attached port plugs, cup and Teflon® tubes in the can for later use. Close the can with the plastic lid.

2.3.2.3 Record the start time on the back of the monitor or on Form OSHA-91A.

2.3.2.4 Attach the monitor to the worker near his/her breathing zone with the white face forward. Assure that the area directly in front of the sampler is unobstructed throughout the sampling period. Do not remove the white film and ring from the monitor until the sampling period is terminated.

2.3.2.5 At the end of the sampling period, detach the monitor from the worker and remove the white film and retaining ring. Immediately snap a closure cap onto the primary (top) section of the monitor (where the white film and ring were removed). It is critical that this step be done as quickly as possible because the sampling rate is more than 5 times faster without the white film in place, which can be an important consideration, especially for short-term sampling. Assure that the attached port plugs are placed firmly into the port holes. The white film and ring can be discarded. Record the stop time on the back of the monitor or on Form OSHA-91A.

2.3.2.6 The following steps should be performed in a low background area for a set of monitors as soon as possible after sampling.

2.3.2.7 Ready a blank by removing the white film and ring and attaching a closure cap onto an unused monitor.

2.3.2.8 For each monitor (one at a time), separate the primary (top) and secondary (bottom) sections of the monitor using the edge of a coin as a pry.

2.3.2.9 Securely snap a cup onto the bottom of the primary section.

2.3.2.10 Snap a closure cap onto the secondary section of the monitor and assure that the attached port plugs are placed firmly into the port holes.

2.3.2.11 Return the sampler sections with closure caps and cup in place to the metal can which contains the Teflon® tubes (which will be used by the laboratory). Close the can with the plastic lid, and wrap it with a Form OSHA-21 seal.

2.3.2.12 Verify that the sampling times are properly recorded on Form OSHA-91A for each sample. Also identify blank samples on this form.

2.3.2.13 Record the room temperature and atmospheric pressure (station pressure) of the sampling site on Form OSHA-91A.

2.3.2.14 List any compounds that could be considered potential interferences, especially solvents, that are being used in the sampling area.

2.3.2.15 Submit the monitors (contained in the metal cans) to the laboratory for analysis as soon as possible.

2.3.2.16 Ship any bulk sample(s) in a container separate from the air samples.

2.3.3 SKC 575-002 Samplers (In general, follow the manufacturer's instructions supplied with the samplers.)

2.3.3.1 Remove the sampler (enclosed in a clear inner package) from the envelope. Keep the O-ring, press-on cover, cover retainer, port plugs and Teflon® tube in the envelope for later use.

2.3.3.2 Remove the sampler from the clear inner package when ready to begin sampling. CAUTION- The monitor immediately begins to sample when it is removed from this package.

2.3.3.3 Record the start time on the sampler label or on Form OSHA-91A.

2.3.3.4 Attach the sampler to the worker near his/her breathing zone with the perforations in the sampler facing out. Assure that the area directly in front of the sampler is unobstructed throughout the sampling period.

2.3.3.5 At the end of the sampling period, immediately detach the sampler from the worker and attach the cover with the O-ring in place onto the sampler using the cover retainer. Make sure the O-ring is forming a proper seal around the entire circumference of the sampler. Record the stop time on sampler label or on Form OSHA-91A.

2.3.3.6 Prepare a blank by removing an unused sampler from its clear package and immediately attaching a cover with the O-ring in place onto it.

2.3.3.7 Wrap each sampler with a Form OSHA-21 seal.

2.3.3.8 Verify that the sampling times are properly recorded on Form OSHA-91A for each sample. Also identify blank samples on this form.

2.3.3.9 Record the room temperature and atmospheric pressure (station pressure) of the sampling site on Form OSHA-91A.

2.3.3.10 List any compounds that could be considered potential interferences, especially solvents, that are being used in the sampling area.

2.3.3.11 Submit the samplers to the laboratory for analysis as soon as possible. Include all port plugs and Teflon® tubes which will be used in the laboratory analyses.

2.3.3.12 Ship any bulk sample(s) in a container separate from the air samples.

2.4 Sampler capacity (adsorbent tubes) and sampler rate/capacity (diffusive samplers)

2.4.1 Charcoal tubes

The sampling capacity of the front section of charcoal sampling tubes was tested by sampling from a dynamically generated test atmosphere of toluene at 401.6 ppm (1513 mg/m3). The samples were collected at a nominal flow rate of 50 mL/min and the relative humidity of the atmosphere was 73% at 29.1°C. The average 5% breakthrough volume was determined to be 16.8 L (25.4 mg or 336 min) from three determinations. (Section 4.9.1)

2.4.2 Anasorb® 747 tubes

The sampling capacity of the front section of Anasorb® 747 sampling tubes was tested by sampling from a dynamically generated test atmosphere of toluene at 401.6 ppm (1513 mg/m3). The samples were collected at a nominal flow rate of 50 mL/min and the relative humidity of the atmosphere was 73% at 29.1°C. The average 5% breakthrough volume was determined to be 20.6 L (31.1 mg or 412 min) from three determinations. (Section 4.9.2)

2.4.3 3M 3520 OVMs

The sampling rate and capacity of 3M 3520 OVMs were determined by taking samples from a dynamically generated test atmosphere of toluene (nominal concentration of 400 ppm or 1507 mg/m3) for increasing time intervals. A sampling rate of 29.54 mL/min (at 760 mmHg, 25°C) and capacity of greater than 32 mg per sample (>21.2 L or >718 min) were obtained from this test. (Section 4.9.3)

2.4.4 SKC 575-002 Samplers

The sampling rate and capacity of SKC 575-002 Samplers were determined by taking samples from a dynamically generated test atmosphere of toluene (nominal concentration of 400 ppm or 1507 mg/m3) for increasing time intervals. A sampling rate of 14.89 mL/min (at 760 mmHg, 25°C) and capacity of greater than 16 mg per sample (>10.6 L or >712 min) were obtained from this test. (Section 4.9.4)

2.5 Desorption efficiency

2.5.1 Charcoal tubes

2.5.1.1 The average desorption efficiency from charcoal tubes over the range of 0.5 to 2 times the TWA target concentration is 99.0%. (Section 4.10.1.1)

2.5.1.2 The desorption efficiency at 0.05, 0.1 and 0.2 times the target concentration was found to be 97.4, 98.2% and 98.4% respectively. (Section 4.10.1.1)

2.5.1.3 Desorbed samples remain stable for at least 24 h. (Section 4.10.1.2)

2.5.2 Anasorb® 747 tubes

2.5.2.1 The average desorption efficiency from Anasorb® 747 tubes over the range of 0.5 to 2 times the TWA target concentration is 99.1%. (Section 4.10.2.1)

2.5.2.2 The desorption efficiency at 0.05, 0.1 and 0.2 times the target concentration was found to be 97.3, 98.1% and 99.1% respectively. (Section 4.10.2.1)

2.5.2.3 Desorbed samples remain stable for at least 24 h. (Section 4.10.2.2)

2.5.3 3M OVMs

2.5.3.1 The average desorption efficiency from 3M OVMs over the range of 0.5 to 2 times the TWA target concentration is 98.1%. (Section 4.10.3.1)

2.5.3.2 The desorption efficiency at 0.05, 0.1 and 0.2 times the target concentration was found to be 98.4, 98.2% and 98.0% respectively. (Section 4.10.3.1)

2.5.3.3 Desorbed samples remain stable for at least 24 h. (Section 4.10.3.2)

2.5.4 SKC 575-002 Samplers

2.5.4.1 The average desorption efficiency from SKC 575-002 Samplers over the range of 0.5 to 2 times the TWA target concentration is 97.0%. (Section 4.10.4.1)

2.5.4.2 The desorption efficiency at 0.05, 0.1 and 0.2 times the target concentration was found to be 98.0, 98.1% and 97.6% respectively. (Section 4.10.4.1)

2.5.4.3 Desorbed samples remain stable for at least 24 h. (Section 4.10.4.2)

2.6 Recommended air volume and sampling rate

2.6.1 When using adsorbent tubes for TWA (long-term) samples, sample up to 12 L of air at 50 mL/min (up to 240 min). When using diffusive samplers, sample for as long as 240 minutes.

2.6.2 When using adsorbent tubes for ceiling samples, sample greater than 0.5 L of air at 50 mL/min (greater than 10 min). When using diffusive samplers, sample for greater than 10 minutes.

2.6.3 When using adsorbent tubes for peak samples, sample at least 0.05 L of air at 50 mL/min (at least 1 min). The use of diffusive samplers is not recommended for peak samples.

2.6.4 When short-term samples are collected, the air concentrations equivalent to the reliable quantitation limits becomes larger. For example, the reliable quantitation limits for charcoal tubes become 0.43 ppm (1.6 mg/m3) for 10-min samples and 4.3 ppm (16 mg/m3) for 1-min samples.

2.7 Interferences (sampling)

2.7.1 The presence of other contaminants in the sampled air can potentially reduce the capacity of all four samplers to collect toluene. Also, the sampling rates of diffusive samplers could possibly be altered. Interference studies were performed by sampling for 240 minutes from a test atmosphere (10% RH, 26°C, 654.8 mmHg) containing 396 ppm of toluene with 50 ppm of 2-butanone (MEK), 20 ppm of 4-methyl-2-pentanone (MIBK), 20 ppm of 1-butanol, 30 ppm of isobutyl acetate and 30 ppm of xylene. The presence of these compounds, which may represent typical substances that may be collected with toluene, did not have a significant effect on sample results using any of the samplers. (Section 4.11.1)

2.7.2 Short-term sampling interference studies were performed for all four samplers by sampling for 1 minute from a test atmosphere (10% RH, 25°C, 654.3 mmHg) containing 495 ppm of toluene with 50 ppm of 2-butanone (MEK), 20 ppm of 4-methyl-2-pentanone (MIBK), 20 ppm of 1-butanol, 30 ppm of isobutyl acetate and 30 ppm of xylene. The presence of these compounds, which may represent typical substances that may be collected with toluene, did not have a significant effect on sample results using any of the samplers.(Section 4.11.2)

2.7.3 A reverse diffusion study for the diffusive samplers and a stripping study for the adsorbent tubes was performed by sampling a 402 ppm atmosphere of toluene (78% RH, 23.5°C, 649.2 mmHg) for 120 minutes with six of each samplers. Three samplers from each set were additionally subjected to 120 minutes of the same atmosphere without the toluene present to determine if any of the collected toluene diffused off of the diffusive samplers and also whether it was stripped off of the adsorbent tubes. Upon analysis of the samples, the average recovery of the removed samplers versus the average recovery of the samplers that were additionally exposed to the atmosphere without toluene was within 90% for all samplers, indicating that reverse diffusion and stripping are not significant. (Section 4.11.3)

2.7.4 The effects of sampling from relatively dry atmospheres was investigated by sampling from a 403.2-ppm toluene atmosphere (9% RH, 25.3°C, 654.5 mmHg) for 240 minutes and by sampling from a 499-ppm atmosphere (9% RH, 26.1°C, 653.9 mmHg) for 1 minute with all four samplers. Sampling from dry atmospheres did not have a significant effect on results using any of the samplers. (Section 4.11.4)

2.7.5 The effects from sampling from atmospheres containing low concentrations of toluene was investigated by sampling from a 19.8-ppm toluene atmosphere (74% RH, 26.0°C, 651.4 mmHg) for 240 minutes and from a 49.3-ppm atmosphere (73% RH, 27.8°C, 650.7 mmHg) for 1 minute with all four samplers. Sampling low concentrations of toluene for 1 or 240 minutes did not have a significant effect on sample results using any of the samplers. (Section 4.11.5)

2.7.6 Suspected interferences should be reported to the laboratory with submitted samples.

2.8 Safety precautions (sampling)

2.8.1 Attach the sampling equipment to the employee so that it will not interfere with work performance or safety.

2.8.2 Follow all safety procedures that apply to the work area being sampled.

3. Analytical Procedure

3.1 Apparatus

3.1.1 A GC equipped with a flame ionization detector. For this evaluation, a Hewlett-Packard 6890 Series Gas Chromatograph equipped with an Automatic Liquid Sampler was used.

3.1.2 A GC column capable of separating toluene from the desorption solvent, internal standard and any interferences. A 30-m × 0.32-mm i.d. fused silica XTI-5 (bonded 5% phenyl - 95% dimethylsiloxane) capillary column with a 1.0-µm df from Restek Corporation (Bellefonte, PA) was used in this evaluation.

3.1.3 An electronic integrator or some other suitable means of measuring peak areas. A Waters MillenniumTM 2020 Networking Computer System was used in this evaluation.

3.1.4 Two-milliliter vials with Teflon®-lined caps.

3.1.5 A dispenser capable of delivering 1.0 mL of desorption solvent to prepare standards and samples. If a dispenser is not available, a 1.0-mL volumetric pipet may be used.

3.1.6 A sampler rack (SKC Cat. No. 226-04-5) and a specialized shaker (SKC Cat. No. 226D-03-1) to facilitate the desorption of SKC 575-002 Samplers.

3.2 Reagents

3.2.1 Toluene (CAS 108-88-3), reagent grade. Baxter Burdick & Jackson B&J BrandTM High Purity Solvent, Lot BK583, was used in this evaluation.

3.2.2 N,N-Dimethylformamide (DMF) [CAS 68-12-2], chromatographic grade. EM Science OmniSolv®, Lot 36130, was used in this evaluation.

3.2.3 Carbon disulfide (CS2) [CAS 75-15-0], chromatographic grade. EM Science OmniSolv®, Lot 35200, was used in this evaluation.

3.2.4 A suitable internal standard, reagent grade. Supelco Neat EPA Standard, Lot LA59304, ethylbenzene (CAS 100-41-4) was used in this evaluation.

3.2.5 The desorption solvent consists of 60/40 (v/v) DMF/CS2 containing 1.0 milliliter of internal standard per liter of solution (1µL/mL).

3.2.6 GC grade nitrogen, air and hydrogen.

3.3 Standard preparation

3.3.1 Prepare standards by injecting microliter amounts of toluene into vials containing 1.0 mL (for adsorbent tubes) or 2.0 mL (for diffusive samplers) of desorption solvent delivered from the same dispenser used to desorb samples. For example, inject 6.00 µL of toluene into a vial containing 1.0 mL of desorption solvent. Assuming the density of toluene is 0.866 g/mL (which is dependent on the temperature of the toluene), this standard contains 5196 µg of toluene per sample for adsorbent tube samples.

3.3.2 Bracket sample concentrations with standard concentrations. If upon analysis, sample concentrations fall outside the range of prepared standards, prepare and analyze additional standards to ascertain the linearity of instrument response or dilute high samples with desorption solvent and reanalyze the diluted samples.

3.4 Sample preparation

3.4.1 Adsorbent tube samples

3.4.1.1 Transfer each section of adsorbent from the sampling tubes to separate labeled vials. Discard the glass tubes, urethane foam plugs and glass wool plugs.

3.4.1.2 Add 1.0 mL of desorption solvent to each vial using the same dispenser as used for preparation of standards.

3.4.1.3 Immediately cap the vials.

3.4.1.4 Allow the adsorbent sections to desorb for 30 minutes. Periodically apply gentle agitation to the vials during the desorption period.

3.4.2 3M 3520 OVMs (In general, follow the manufacturer's instructions supplied with the samplers.)

3.4.2.1 Remove each sampler section from its individual metal can, along with the sections of Teflon® tubing. Assure that the closure caps are firmly snapped to the primary and secondary sections of all the samplers. Also assure that all cap plugs are firmly seated in the cap ports. Any deviations must be noted.

3.4.2.2 Prepare one section of sampler at time by temporarily removing the cap plugs from the ports and adding 2.0 mL of desorption solvent through the center port. This is most easily done by dispensing two 1.0-mL aliquots of desorption solvent using a dispenser. Immediately replace the plugs in the ports.

3.4.2.3 Allow the sampler sections to desorb for 30 minutes. Periodically apply gentle agitation to the sampler sections during the desorption period.

3.4.2.4 Transfer the solution from each sampler section by removing both plugs from the ports, inserting a decanting spout (a small section of Teflon® tubing) into the rim port and pouring the liquid through the spout into a labeled autosampler vial. Immediately cap each vial.

3.4.3 SKC 575-002 Samplers (In general, follow the manufacturer's instructions supplied with the samplers.)

3.4.3.1 Cut off the ends of the two protruding tubes of each sampler with a razor blade or sharp knife.

3.4.3.2 Slowly add 1.0 mL of desorption solvent through one of the protruding tubes (ports). After about 30 seconds, slowly add another 1.0 mL of desorption solvent.

3.4.3.3 Immediately insert plugs into the ports.

3.4.3.4 Mount the samplers in the sampler rack (SKC Cat. No. 226-04-5) of a specialized shaker (SKC Cat. No. 226D-03-1) and shake the samplers for 1 hour.

3.5.2.5 According to the manufacturer of the sampler, do not leave the desorbed sample in the sampler. Transfer each desorbed sample by removing the plugs from the sampler ports, firmly inserting the tapered end of a supplied Teflon® tube into the outer port and carefully pouring the solution through the Teflon® tube into a labeled autosampler vial.

3.5 Analysis

3.5.1 GC conditions

zone temperatures: column- 60°C (isothermal)
injector- 250°C
detector- 275°C
gas flows: hydrogen (carrier)- 2.5 mL/min (43 kPa head pressure)
nitrogen (makeup)- 50 mL/min
hydrogen (flame)- 38 mL/min
air- 450 mL/min
signal range: 0
injection volume: 1.0 µL (with a 100:1 split)
column: 30-m × 0.32-mm i.d. fused silica, XTI-5 1.0-µm df
retention times: toluene- 5.2 min
ethylbenzene- 9.8 min (internal standard)
(CS2- 1.7 min, DMF- 6.1 min)

Figure 3.5.1.1. Chromatogram of a standard near the TWA target concentration for the adsorbent tubes. Key: (1) CS2, (2) toluene, (3) DMF, (4) ethylbenzene.



Figure 3.5.1.2. Chromatogram of a standard near the TWA target concentration for 3M 3520 OVMs. Key: (1) CS2, (2) toluene, (3) DMF, (4) ethylbenzene.



Figure 3.5.1.3. Chromatogram of a standard near the TWA target concentration for SKC 575-002 samplers. Key: (1) CS2, (2) toluene, (3) DMF, (4) ethylbenzene.



Figure 3.5.1.4. Chromatogram of a standard near the ceiling concentration for the adsorbent tubes. Key: (1) CS2, (2) toluene, (3) DMF, (4) ethylbenzene.



Figure 3.5.1.5. Chromatogram of a standard near the ceiling concentration for 3M 3520 OVMs. Key: (1) CS2, (2) toluene, (3) DMF, (4) ethylbenzene.



Figure 3.5.1.6. Chromatogram of a standard near the ceiling concentration for SKC 575-002 samplers. Key: (1) CS2, (2) toluene, (3) DMF, (4) ethylbenzene.



Figure 3.5.1.7. Chromatogram of a standard near the peak target concentration for adsorbent tubes. Key: (1) CS2, (2) toluene, (3) DMF, (4) ethylbenzene.

3.5.2 Peak areas are measured by an integrator or other suitable means.

3.5.3 An internal standard (ISTD) calibration method is used. A calibration curve is prepared by analyzing standards and plotting micrograms of toluene per sample versus ISTD-corrected area counts of the toluene peaks. Sample concentrations must be bracketed by standards.

Figure 3.5.3.1. Calibration curve for adsorbent tubes constructed from the data in Table 4.5. The equation of the line is Y = 150.7X-15400.



Figure 3.5.3.2. Calibration curve for 3M 3520 OVMs constructed from the data in Table 4.5.2. The equation of the line is Y = 74.93X+1609.



Figure 3.5.3.3. Calibration curve for SKC 575-002 samplers constructed from the data in Table 4.5.3. The equation of the line is Y = 75.57X-549.7.

3.6 Interferences (analytical)

3.6.1 Any compound that produces a response on a flame ionization detector and has the same general retention time of toluene or the internal standard is a potential interference. Possible interferences should be reported to the laboratory with submitted samples by the industrial hygienist. These interferences should be considered before samples are desorbed.

3.6.2 GC parameters (i.e. column and column temperature) may be changed to possibly circumvent interferences.

3.6.3 The desorption efficiency from wet samplers was investigated by spiking samplers with amounts of toluene equivalent to the mass that would be collected for 240 minutes from atmospheres containing 200 ppm. Before being spiked with toluene, humid air (~80% RH, 25°C) had been drawn through the adsorbent tubes at 50 mL/min for 240 minutes. Similarly, the diffusive samplers had been exposed to the humid atmosphere for 240 minutes. The desorption efficiencies were comparable to those reported in Section 2.5. (Section 4.12)

3.6.4 When necessary, the identity or purity of an analyte peak may be confirmed with additional analytical data. (Section 4.13)

3.7 Calculations

3.7.1 Adsorbent tube samples

The toluene concentration for samples is obtained from the appropriate calibration curve in terms of micrograms of toluene per sample, uncorrected for desorption efficiency. The air concentration is calculated using the following formulae. The back (50-mg) section is analyzed primarily to determine if there was any breakthrough from the front section during sampling. If a significant amount of analyte is found on the back section (e.g., greater than 25% of the amount found on the front section), this fact should be reported with sample results. If any analyte is found on the back section, it is added to the amount found on the front section. This total amount is then corrected by subtracting the total amount (if any) found on the blank.

mg/m3 = (µg of toluene per sample)/((L of air sampled)(desorption efficiency))

where: desorption efficiency = 0.990 for Charcoal and 0.991 for Anasorb® 747 Tubes
L of air sampled = [(sampling time, min)(sampling rate, mL/min)]/1000

ppm = (mg/m3)(24.46)/(molecular weight of analyte) = (mg/m3)(0.2655)

where: 24.46 is the molar volume at 25°C and 101.3 kPa (760 mmHg)
and the molecular weight of toluene = 92.14

3.7.2 3M 3520 OVMs and SKC 575-002 Samplers

The toluene concentration for samples is obtained from the appropriate calibration curve in terms of micrograms of toluene per sample, uncorrected for desorption efficiency. The air concentration is calculated using the following formulae. For the 3M OVMs, the back section is analyzed primarily to determine if there was any breakthrough from the front section during sampling. If a significant amount of analyte is found on the back section (e.g., greater than 25% of the amount found on the front section), this fact should be reported with sample results. If any analyte is found on the back section, the amount found is multiplied by 2.2 (as per manufacturer's instructions) and then added to the amount found on the corresponding front section. This total amount is then corrected by subtracting the total amount (if any) found on the blank.

mg/m3 = (µg of toluene per sample)/((L of air sampled)(desorption efficiency))

where: desorption efficiency = 0.981 for 3M OVMs and 0.970 for SKC 575-002 Samplers
L of air sampled = [(sampling time, min)(sampling rate, mL/min)]/1000
Sampling rate (3M OVMs) = (29.54)(760/P)(T/298.2)1.5
Sampling rate (SKC 575-002 Samplers) = (14.89)(760/P)(T/298.2)1.5
P = the sampling site pressure (mmHg)
T = the sampling site temperature (K)

ppm = (mg/m3)(24.46)/(molecular weight of analyte) = (mg/m3)(0.2655)

where: 24.46 is the molar volume at 25°C and 101.3 kPa (760 mmHg)
and the molecular weight of toluene = 92.14

If the sampling site temperature is not provided, assume that it is 22.2°C (295.4 K, 72°F). If the sampling site atmospheric pressure is not given, calculate an approximate value based on the sampling site elevation from the following equation, which is derived from the data presented in Ref. 5.16.

P = (3.3887 × 10-7)(E2) B (2.7468 × 10-2)(E) + 760

Where P = the calculated approximate atmospheric pressure (mmHg)
E = the sampling site elevation (ft)

Figure 3.7.2 Plot of atmospheric pressure versus altitude. Data taken from Reference 5.16.

3.8 Safety precautions (analytical)

3.8.1 Adhere to the rules set down in your Chemical Hygiene Plan.

3.8.2 Avoid skin contact and inhalation of all chemicals.

3.8.3 Wear safety glasses and a lab coat at all times while in the lab area.

4. Backup Data

4.1 Determination of detection limits

Detection limits (DL), in general, are defined as the amount (or concentration) of analyte that gives an instrument response (YDL) that is significantly different (three standard deviations (SDBR)) from the background response (YBR).

YDL - YBR = 3(SDBR)

The direct measurement of YBR and SDBR in chromatographic methods is typically inconvenient and difficult because YBR is usually extremely low. Estimates of these parameters can be made with data obtained from the analysis of a series of analytical standards or samples whose responses are in the vicinity of the background response. The regression curve obtained for a plot of instrument response versus concentration of analyte will usually be linear. Assuming SDBR and the precision of data about the curve are similar, the standard error of estimate (SEE) for the regression curve can be substituted for SDBR in the above equation. The following calculations derive a formula for DL:


Yobs = observed response
Yest = estimated response from regression curve
n = total no. of data points
k = 2 for a linear regression curve

At point YDL on the regression curve

YDL = A(DL) + YBR A = analytical sensitivity (slope)

therefore

DL = (YDL - YBR)
A

Substituting 3(SEE) + YBR for YDL gives

DL = 3(SEE)
A

4.2 Detection limit of the analytical procedure (DLAP)

The DLAP is measured as the mass of analyte introduced into the chromatographic column. Ten analytical standards were prepared in equal descending increments with the highest standard containing 4325 ng of toluene per mL. This standard produces a peak approximately 10 times the baseline noise of a reagent blank when a 1-µL injection with a 1:100 split is made onto the GC column. Standards, plus a reagent blank, were analyzed and the data obtained were used to determine the required parameters (A and SEE) for the calculation of the DLAP. Values of 17.66 and 15.3 were obtained for A and SEE respectively. The DLAP was calculated to be 2.60 pg.

Table 4.2
DLAP for Toluene


concentration
(ng/mL)
mass on column
(pg)
peak area
(µV·s)

0.000
432.5
865.0
1298
1730
2162
2595
3028
3460
3892
4325
0.00
4.325
8.650
12.98
17.30
21.62
25.95
30.28
34.60
38.92
43.25
0
92.7
167
226
338
368
456
547
641
696
761





Figure 4.2. Plot of data from Table 4.2. to determine the DLAP. The equation of the line is
Y = 17.66X + 8.40.

4.3 Detection limit of the overall procedure (DLOP)

The DLOP is measured as mass per sample and expressed as equivalent air concentrations, based on the recommended sampling parameters. Ten samplers of each type were spiked with equal descending increments of toluene such that the highest sampler loadings were 4325 ng/sample for the adsorbent tubes and 8650 ng/sample for the 3M 3520 OVMs and SKC samplers. (The diffusive samplers were spiked with twice the amounts of toluene compared to adsorbent tubes because they are desorbed with 2 mL of solvent versus 1 mL for the adsorbent tubes.) These are the amounts, when spiked on the samplers, that would produce peaks approximately 10 times the baseline noise for sample blanks. These spiked samplers, plus blanks, were analyzed with the recommended analytical parameters, and the data obtained used to calculate the required parameters (A and SEE) for the calculation of the DLOPs. Values of 0.1768 and 14.5, 0.1745 and 20.0, 0.0831 and 18.2, and 0.0943 and 28.4 were obtained for A and SEE for charcoal tubes, Anasorb® 747 tubes, 3M 3520 OVMs and SKC 575-002 samplers respectively. The DLOPs were calculated to be 246 ng per sample (5.4 ppb or 20.5 µg/m3), 344 ng per sample (7.6 ppb or 28.7 µg/m3), 657 ng per sample (25 ppb or 93 µg/m3) and 904 ng per sample (67 ppb or 253 µg/m3) for charcoal tubes, Anasorb® 747 tubes, 3M 3520 OVMs and SKC 575-002 samplers respectively.

Table 4.3.1
Detection Limit of the Overall Procedure
for Charcoal Tubes


mass (ng)
per sample
peak area
(µV·s)

0.0
432.5
865.0
1298
1730
2162
2595
3028
3460
3892
4325
0
90.1
162
244
322
386
491
518
639
686
776





Figure 4.3.1. Plot of data from Table 4.3.1 to determine the DLOP/RQL for charcoal tubes. The equation of the line is Y = 0.1768X + 9.83.



Table 4.3.2
Detection Limit of the Overall Procedure
for Anasorb® 747 Tubes


mass (ng)
per sample
peak area
(µV·s)

0.0
432.5
865.0
1298
1730
2162
2595
3028
3460
3892
4325
0
130
168
254
308
429
488
579
626
694
768





Figure 4.3.2. Plot of data from Table 4.3.2. to determine the DLOP/RQL for Anasorb® 747 tubes. The equation of the line is Y = 0.1745X + 26.7.



Table 4.3.3
Detection Limit of the Overall Procedure
for 3M 3520 OVMs


mass (ng)
per sample
peak area
(µV·s)

0.0
865
1730
2595
3460
4325
5190
6055
6920
7785
8650
0
91.1
146
209
304
370
455
546
599
646
700





Figure 4.3.3. Plot of data from Table 4.3.3. to determine the DLOP/RQL for 3M 3520 OVMs. The equation of the line is Y = 0.0831X + 10.4.



Table 4.3.4
Detection Limit of the Overall Procedure
for SKC 575-002 Samplers


mass (ng)
per sample
peak area
(µV·s)

0.0
865
1730
2595
3460
4325
5190
6055
6920
7785
8650
0
95.1
195
223
307
423
556
588
639
730
813





Figure 4.3.4. Plot of data from Table 4.3.4 to determine the DLOP/RQL for SKC 575-002 samplers. The equation of the line is Y = 0.0943X + 8.59.

4.4 Reliable quantitation limit (RQL)

The RQL is considered the lower limit for precise quantitative measurements. It is determined from the regression line data obtained for the calculation of the DLOP (Section 4.3). The RQL is defined as the amount of analyte that gives an instrument response (YRQL) such that

YRQL - YBR = 10(SDBR)

therefore

RQL = 10(SEE)
A

The RQLs were calculated to be 820 ng per sample (18.1 ppb or 68.3 µg/m3), 1146 ng per sample (25.4 ppb or 95.5 µg/m3), 2190 ng per sample (82 ppb or 309 µg/m3) and 3012 ng per sample (224 ppb or 844 µg/m3) for charcoal tubes, Anasorb® 747 tubes, 3M 3520 OVMs and SKC 575-002 samplers respectively. The recoveries at these levels are 100%, 99%, 94% and 107% respectively.

Figure 4.4.1. Chromatogram of a sample (865 ng of toluene per sample) near the RQL for charcoal tubes (820 ng). Key: (1) CS2, (2) toluene, (3) DMF and impurities, (4) ethylbenzene.



Figure 4.4.2. Chromatogram of a sample (1298 ng of toluene per sample) near the RQL for Anasorb® (1146 ng). Key: (1) CS2, (2) toluene, (3) DMF and impurities, (4) ethylbenzene.



Figure 4.4.3. Chromatogram of a sample (2595 ng of toluene per sample) near the RQL for 3M 3520 OVMs (2190 ng). Key: (1) CS2, (2) toluene, (3) DMF and impurities, (4) ethylbenzene.



Figure 4.4.4. Chromatogram of a sample (1298 ng of toluene per sample) near the RQL for SKC 575-002 samplers (3012 ng). Key: (1) CS2, (2) toluene, (3) DMF and impurities, (4) ethylbenzene.

4.5 Precision (analytical method)

The precisions of the analytical procedure are defined as the pooled relative standard deviations (RSDP). Relative standard deviations were determined from six replicate injections of standards at 0.5, 0.75, 1, 1.5 and 2 times the TWA target concentrations. After assuring that the RSDs satisfy the Cochran test for homogeneity at the 95% confidence level, the RSDPs were calculated to be 0.76%, 0.94% and 0.76% for the adsorbent tubes, 3M 3520 OVMs and SKC 575-002 samplers respectively.

Table 4.5.1
Instrument Response for Adsorbent Tubes


× target concn
(µg/sample)
0.5×
4541.2
0.75×
6920.0
1.0×
9082.5
1.5×
13840
2.0×
18165

peak areas
(µV·s)




672250
679710
676130
686650
667840
676290
1030700
1024500
1033400
1035000
1029400
1033100
1388800
1382300
1358700
1375800
1372900
1374800
2034600
2055000
2092000
2060800
2093000
2069600
2718600
2737100
2744500
2729200
2734000
2744000

mean
SD
RSD (%)
676479
6427.5
0.950
1031017
3770.1
0.366
1375550
10126.2
0.736
2067500
22532.0
1.090
2734567
9778.9
0.358





Table 4.5.2
Instrument Response for 3M 3520 OVMs


× target concn
(µg/sample)
0.5×
2681.5
0.75×
4022.2
1.0×
5363
1.5×
8044.5
2.0×
10726

peak areas
(µV·s)


204130
200620
202700
198390
201720
201940
305410
302040
304170
03280
307530
300290
407980
399910
400930
406990
404850
404490
605690
595360
601140
608650
606270
606280
811630
808570
810300
803260
811770
786360

mean
SD
RSD (%)
201584
1949.6
0.967
303787
2542.8
0.837
404192
3214.82
0.795
603899
4849.7
0.803
805315
9803.1
1.217





Table 4.5.3
Instrument Response for SKC 575-002 Samplers


× target concn
(µg/sample)
0.5×
1340.8
0.75×
2011.1
1.0×
2681.5
1.5×
4022.2
2.0×
5363

peak areas
(µV·s)


100120
100800
100590
100320
100050
100100
151260
150640
149190
151860
150840
152170
204130
200620
202700
198390
201720
201940
305410
302040
304170
303280
307530
300290
407980
399910
400930
406990
404850
404490

mean
SD
RSD (%)
100330
304.6
0.304
150994
1059.0
0.701
201584
1949.6
0.967
303787
2542.8
0.837
404192
3214.8
0.795

The Cochran test for homogeneity:

cochran test

The g statistics are 0.410, 0.337 and 0.328 for the adsorbent tubes, 3M 3520 OVMs and SKC 575-002 samplers respectively. The critical value of the g statistic at the 95% confidence level for five variances, each associated with six observations, is 0.5065. Because the g statistics do not exceed this value, the RSDs can be considered equal and they can be pooled (RSDP) to give an estimated RSD for the concentration range studied.

4.6 Precision (overall procedure)

The precision of the overall procedure is determined from the storage data in Section 4.7. The determination of the standard error of estimate (SEER) for a regression line plotted through the graphed storage data allows the inclusion of storage time as one of the factors affecting overall precision. The SEER is similar to the standard deviation, except it is a measure of dispersion of data about a regression line instead of about a mean. It is determined with the following equation:


n = total no. of data points
k = 2 for linear regression
k = 3 for quadratic regression
Yobs = observed % recovery at a given time
Yest = estimated % recovery from the regression line at the same given time

The following formula is used to determine the total standard error of estimate (SEE) for adsorbent tubes. An additional 5% for pump error (SP) is added to the SEER by the addition of variances.

The following formula is used to determine the total standard error of estimate (SEE) for diffusive samplers when the sampling site temperature and pressure are known. SR is the sampling rate variability that has been determined in separate studies to be 6.4% for 3M OVMs and 8.7% for SKC samplers. (Refs. 5.10 and 5.17)

The following formula is used when the sampling site temperature or pressure are not known. Additional variances are included that account for uncertainty for uncorrected temperature (ST) and pressure (SPr) effects on the sampling rate. When the temperature is unknown, it will be assumed that it is 22.2°C (295.4 K, 72°F) and a value of 7.7% shall be used for ST. This is the maximum variability in the sampling rate due to temperature over the range of 7.2-37.2°C (22.2±15°C or 72±27°F). When the atmospheric pressure is unknown, it will be determined from the estimated elevation of the sampling site. A value of 3% shall be used for SPr to account for pressure fluctuations due to weather conditions. This is an estimate of the variability due to weather, based on a study that tracked atmospheric pressure variations over a year's time at SLTC. (Ref. 5.10)

The precision at the 95% confidence level is obtained by multiplying the SEE by 1.96 (the z statistic from the standard normal distribution at the 95% confidence level). The 95% confidence intervals are drawn about their respective regression lines in the storage graphs, as shown in the figures in Section 4.7. The SEEs and precisions of the overall procedure are given in the following tables for adsorbent tubes and diffusive samplers. All values are based on the ambient storage tests in Section 4.7.

Table 4.6.1
SEEs and Precisions of the Overall Procedure at the 95% Confidence Interval
for Adsorbent Tubes


TWA Samples Ceiling Samples Peak Samples
Adsorbent
SEE Precision SEE Precision SEE Precision

Charcoal

Anasorb® 747
5.51%

5.15%
±10.8%

±10.1%
5.20%

5.14%
±10.2%

±10.1%
5.25%

5.36%
±10.3%

±10.5%





Table 4.6.2
SEEs and Precisions of the Overall Procedure at the 95% Confidence Interval
for Diffusive Samplers When Sampling Site Temperature (T)
or Atmospheric Pressure (P) are Known or Unknown


TWA Samples Ceiling Samples
Sampler
SEE Precision SEE Precision

3M 3520 OVM
    both T&P known
    only T known
    only P known
    neither T nor P known

SKC 575-002 Sampler
    both T&P known
    only T known
    only P known
    neither T nor P known

7.19%
7.79%
10.5%
11.0%


9.18
9.66
12.0%
12.4%

±14.1%
±15.3%
±20.6%
±21.5%


±18.0%
±18.9%
±23.5%
±24.3%

7.93%
8.48%
11.1%
11.5%


9.49%
9.95%
12.2%
12.6%

±15.5%
±16.6%
±21.7%
±22.4%


±18.6%
±19.5%
±23.9%
±24.7%

4.7 Storage tests

Adsorbent tube storage samples were prepared by sampling at 50 mL/min from controlled test atmospheres that were at approximately 80% RH and at room temperatures ranging from 22-26°C and atmospheric pressures from 649-656 mmHg. Storage samples for 3M 3520 OVMs and SKC samplers were prepared by exposing them to the same atmospheres as for the adsorbent tubes. The flow of the atmospheres through the exposure chamber provided for face velocities on the diffusive samplers of approximately 0.4 m/s. TWA samples were prepared by sampling from 200-ppm atmospheres for 240 minutes, ceiling samples from 300-ppm atmospheres for 10 minutes and peak samples from 500-ppm atmospheres for 1 minute. Six samples for each set were analyzed immediately after generation, fifteen were stored in a refrigerator at 0°C and fifteen were stored in a closed drawer at ambient temperatures of 20-25°C. Only ambient storage tests were done for the ceiling and peak samples and only adsorbent tube samples were generated for the peak level. At approximately three-day intervals, three samples were selected from each of the storage sets and analyzed.

Table 4.7.1
TWA Storage Tests for Charcoal Tubes


time (days) refrigerated storage
recovery (%)
ambient storage
recovery (%)

0
0
3
6
11
14
19
100.6
102.8
99.7
101.7
99.8
99.4
98.1
102.0
100.4
99.1
101.3
100.4
101.4
99.5
99.9
101.3
101.4
101.3
99.4
99.9
100.8
100.6
102.8
100.2
100.0
99.5
99.6
100.3
102.0
100.4
90.7
99.7
100.1
99.8
99.8
99.9
101.3
99.2
100.2
100.1
100.6
100.8





Figure 4.7.1.1. Charcoal tubes refrigerated storage test, 240-minute samples at 200 ppm.



Figure 4.7.1.2. Charcoal tubes ambient storage test, 240-minute samples at 200 ppm.



Table 4.7.2
TWA Storage Tests for Anasorb® 747 Tubes


time (days) refrigerated storage
recovery (%)
ambient storage
recovery (%)

0
0
3
6
11
14
19
100.2
100.7
100.4
100.2
100.6
103.3
100.9
100.5
100.0
100.3
99.6
99.2
101.2
100.6
99.8
95.6
99.9
100.6
101.0
103.8
100.3
100.2
100.7
98.6
99.9
99.2
100.7
99.3
100.5
100.0
101.5
99.4
100.1
101.6
101.6
99.8
95.6
99.5
100.2
100.4
100.6
101.5





Figure 4.7.2.1. Anasorb® 747 tubes refrigerated storage test, 240-minute samples at 200 ppm.



Figure 4.7.2.2. Anasorb® 747 tubes ambient storage test, 240-minute samples at 200 ppm.



Table 4.7.3
TWA Storage Tests for 3M 3520 OVMs


time (days) refrigerated storage
recovery (%)
ambient storage
recovery (%)

0
0
3
6
11
14
19
105.0
104.3
101.9
103.9
103.1
104.3
105.2
100.7
102.4
99.1
104.6
107.2
104.0
102.6
104.4
99.7
101.9
100.9
103.8
101.0
101.4
105.0
104.3
107.9
98.1
99.0
109.6
111.0
100.7
102.4
102.7
105.8
102.9
102.1
107.9
104.4
99.7
103.9
104.3
101.3
104.4
104.4





Figure 4.7.3.1. 3M 3520 OVMs refrigerated storage test, 240-minute samples at 200 ppm.



Figure 4.7.3.2. 3M 3520 OVMs ambient storage test, 240-minute samples at 200 ppm.



Table 4.7.4
TWA Storage Tests for SKC 575-002 Samplers


time (days) refrigerated storage
recovery (%)
ambient storage
recovery (%)

0
0
3
6
11
14
19
100.3
99.8
100.1
91.2
101.1
97.4
101.0
95.8
97.8
97.3
92.3
95.8
98.8
101.3
102.6
96.3
99.2
98.5
93.9
97.8
90.6
100.3
99.8
97.0
95.9
100.2
100.2
100.2
95.8
97.8
94.9
96.5
91.4
102.2
95.7
102.6
96.3
94.9
94.8
99.9
100.6
99.9





Figure 4.7.4.1. SKC 575-002 samplers refrigerated storage test, 240-minute samples at 200 ppm.



Figure 4.7.4.2. SKC 575-002 samplers ambient storage test, 240-minute samples at 200 ppm.



Table 4.7.5
Ceiling Storage Tests for Adsorbent Tubes


time (days) Charcoal
recovery (%)
Anasorb® 747
recovery (%)

0
0
3
6
10
12
15
97.9
99.2
99.9
97.3
98.5
97.0
98.8
99.7
98.6
100.2
94.7
97.1
99.4
98.0
101.4
99.7
97.2
98.0
100.0
97.5
98.4
98.0
100.9
97.4
97.4
97.7
98.0
97.1
98.0
100.9
99.7
97.1
98.9
99.2
98.5
99.5
98.0
97.7
96.4
96.6
97.6
98.0





Figure 4.7.5.1. Charcoal tubes ambient storage test, 10-minute samples at 300 ppm.



Figure 4.7.5.2. Anasorb® 747 tubes ambient storage test, 10-minute samples at 300-ppm.



Table 4.7.6
Ceiling Storage Tests for Diffusive Samplers


time (days) 3M 3520 OVMs
recovery (%)
SKC 575-002 Samplers
recovery (%)

0
0
3
6
10
12
15
110.8
102.5
102.7
103.6
101.8
100.0
96.7
111.6
101.6
100.8
99.4
102.7
95.6
100.8
96.9
101.8
104.4
100.7
111.7
94.2
106.0
98.8
90.5
97.6
?99.8
93.9
90.2
94.6
94.3
94.6
100.7
99.2
96.6
92.4
98.2
97.3
87.7
93.5
89.3
92.2
97.2
92.0





Figure 4.7.6.1. 3M 3520 OVMs ambient storage test, 10-minute samples at 300 ppm.



Figure 4.7.6.2. SKC 575-002 samplers ambient storage test, 10-minute samples at 300 ppm.



Table 4.7.7
Peak Storage Tests for Adsorbent Tubes


time (days) Charcoal Tubes
recovery (%)
Anasorb® 747 Tubes
recovery (%)

0
0
3
6
10
12
15
96.1
98.0
95.5
92.0
95.0
95.3
96.6
94.9
99.7
96.5
94.4
95.0
95.2
95.9
97.8
95.1
93.8
94.1
94.8
95.8
94.3
95.3
97.5
97.9
95.2
96.4
97.4
90.7
98.2
97.5
97.6
95.0
96.5
99.0
96.8
99.3
96.8
99.4
95.7
93.0
95.1
96.7





Figure 4.7.7.1. Charcoal tubes ambient storage test, 1-minute samples at 500 ppm.



Figure 4.7.7.2. Anasorb® 747 tubes ambient storage test, 1-minute samples at 500 ppm.

4.8 Reproducibility

Six TWA reproducibility samples for each of the four types of samplers were prepared by collecting them from a controlled test atmosphere similar to that which was used in the collection of the storage samples in Section 4.7. The samples were submitted to an SLTC service branch for analysis. The charcoal tube and 3M 3520 OVM samples were analyzed 20 days after generation and the Anasorb® 747 tube and SKC 575-002 samples were analyzed 53 days after generation. The samples were stored at room temperature. No sample result had a deviation greater than the precisions of the overall procedure determined in Section 4.6, which are ±10.8%, ±10.1%, ±14.1% and ±18.0% for charcoal tubes, Anasorb® 747 tubes, 3M 3520 OVMs and SKC 575-002 samplers respectively.

Table 4.8.1
Reproducibility Data for Charcoal Tubes


sample
no.
ppm
reported
ppm
expected
percent
found
deviation
(%)

1
2
3
4
5
6
183.0
183.1
183.8
180.5
183.0
182.2
197.1
197.1
197.1
197.1
197.1
197.1
92.8
92.9
93.3
91.6
92.8
92.4
-7.2
-7.1
-6.7
-8.4
-7.2
-7.6





Table 4.8.2
Reproducibility Data for Anasorb® 747 Tubes


sample
no.
ppm
reported
ppm
expected
percent
found
deviation
(%)

1
2
3
4
5
6
197.8
197.6
197.4
198.2
194.2
199.1
201.1
201.1
201.1
201.1
201.1
201.1
98.4
98.3
98.2
98.6
96.6
99.0
-1.6
-1.7
-1.8
-1.4
-3.4
-1.0





Table 4.8.3
Reproducibility Data for 3M 3520 OVMs


sample
no.
ppm
reported
ppm
expected
percent
found
deviation
(%)

1
2
3
4
5
6
197.7
193.4
192.6
197.1
195.6
199.1
197.1
197.1
197.1
197.1
197.1
197.1
100.3
98.1
97.7
100.0
99.2
101.0
+0.3
-1.9
-2.3
0.0
-0.8
+1.0





Table 4.8.4
Reproducibility Data for SKC 575-002 Samplers


sample
no.
ppm
reported
ppm
expected
percent
found
deviation
(%)

1
2
3
4
5
6
207.9
213.0
208.1
206.8
191.7
209.7
201.1
201.1
201.1
201.1
201.1
201.1
103.4
105.9
103.5
102.8
95.3
104.3
+3.4
+5.9
+3.5
+2.8
-4.7
+4.3

4.9 Sampler capacity and sampling rate

4.9.1 Charcoal tubes

The sampling capacity of the front section of charcoal sampling tubes was tested by sampling from a dynamically generated test atmosphere of toluene at 401.6 ppm (1513 mg/m3). The samples were collected at a nominal flow rate of 50 mL/min and the relative humidity of the atmosphere was 73% at 29.1°C. Complete charcoal tubes were placed in-line behind the front test sections and changed at measured intervals. The average 5% breakthrough volume was determined to be 16.8 L from three determinations.

Table 4.9.1
Breakthrough of Toluene with
Charcoal Sampling Tubes


smplr tube no. air vol (L) sampling time (min) downstream concn (mg/m3) break-through (%)

1






2






3




5.50
12.56
15.71
18.84
21.99
25.13

5.28
12.77
15.96
19.15
22.34
25.54

5.25
11.97
14.97
17.96
20.95
23.95
0-210
210-270
270-330
330-390
390-450
450-510

0-210
210-270
270-330
330-390
390-450
450-510

0-210
210-270
270-330
330-390
390-450
450-510
0
0
9.68
410.6
1301
1461

0
0.63
9.75
406.4
1273
1424

0
0
4.65
248.8
1136
1495
0
0
0.64
27.1
86.0
96.6

0
0.04
0.65
26.9
84.1
94.1

0
0
0.31
16.4
75.1
98.8





Figure 4.9.1. Determination of the 5% breakthrough volume for charcoal tubes.

4.9.2 Anasorb® 747 tubes

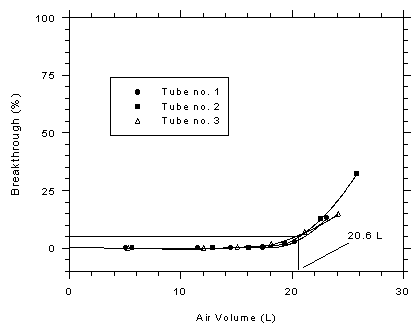
The sampling capacity of the front section of Anasorb® 747 sampling tubes was tested by sampling from a dynamically generated test atmosphere of toluene at 401.6 ppm (1513 mg/m3). The samples were collected at a nominal flow rate of 50 mL/min and the relative humidity of the atmosphere was 73% at 29.1°C. Complete Anasorb® 747 tubes were placed in-line behind the front test sections and changed at measured intervals. The average 5% breakthrough volume was determined to be 20.6 L from three determinations.

Table 4.9.2
Breakthrough of Toluene with
Anasorb® 747 Sampling Tubes


smplr tube no. air vol (L) sampling time (min) downstream concn (mg/m3) break-through (%)

1






2






3




5.06
11.56
14.45
17.34
20.24
23.13

5.65
12.91
16.13
19.36
22.59
25.81

5.28
12.06
15.07
18.09
21.10
24.11
0-210
210-270
270-330
330-390
390-450
450-510

0-210
210-270
270-330
330-390
390-450
450-510

0-210
210-270
270-330
330-390
390-450
450-510
0
0
0.28
4.67
40.9
198.9

0
0
1.05
26.6
192.3
830.3

0
0
1.73
20.9
100.2
352.5
0
0
0.02
0.31
2.70
13.2

0
0
0.07
1.76
12.7
32.2

0
0
0.11
1.38
6.62
14.6





Figure 4.9.2. Determination of the 5% breakthrough volume for Anasorb® 747 tubes.

4.9.3 3M 3520 OVMs

The sampling rate and capacity of 3M 3520 OVMs was determined by taking samples from a dynamically generated test atmosphere of toluene (nominal concentration of 400 ppm or 1507 mg/m3) for increasing time intervals. The atmosphere was at approximately 75% relative humidity, 29°C and 647 mmHg. The flow of the atmosphere through the exposure chamber provided for face velocities on the diffusive samplers of approximately 0.4 m/s. The data obtained are shown in Table 4.9.3 and Figure 4.9.3. Three samples were taken for each sampling interval. Sampler capacity is exceeded when the sampling rate decreases rapidly. Because this did not occur for the time period tested, the capacity is estimated to be greater than 32 mg. A sampling rate standardized to 760 mmHg and 25°C of 29.54 mL/min was determined to be average sample rate from samples collected from 7.5 to 240 minutes.

Table 4.9.3
Sampling Rate and Capacity
for Toluene using 3M 3520 OVMs


sampling time
(min)
sampling rate
(mL/min)
RSD
(%)

7.5
15
30
60
120
240
362
481
600
720
30.92
29.79
29.37
29.93
28.99
28.25
28.60
27.93
29.61
27.52
2.12
2.28
0.71
3.10
0.38
3.68
3.11
0.69
0.84
2.17





Figure 4.9.3. Determination of sampling rate and capacity for toluene using 3M 3520 OVMs.

4.9.4 SKC 575-002 Samplers

The sampling rate and capacity of the SKC 575-002 Sampler were determined by taking samples from a dynamically generated test atmosphere of toluene (nominal concentration of 400 ppm or 1507 mg/m3) for increasing time intervals. The atmosphere was at approximately 76% relative humidity, 26°C and 650 mmHg. The flow of the atmosphere through the exposure chamber provided for face velocities on the diffusive samplers of approximately 0.4 m/s. The data obtained are shown in Table 4.9.4 and Figure 4.9.4. Three samples were taken for each sampling interval. Sampler capacity is exceeded when the sampling rate decreases rapidly. Because this did not occur for the time period tested, the capacity is estimated to be greater than 16 mg. A sampling rate standardized to 760 mmHg and 25°C of 14.89 mL/min was determined to be the average sample rate from samples collected from 7.5 to 245 minutes.

Table 4.9.4
Sampling Rate and Capacity
for Toluene using SKC 575-002 Samplers


sampling time
(min)
sampling rate
(mL/min)
RSD
(%)

7.5
15
30
60
120
245
360
480
600
720
15.25
14.90
14.90
14.78
14.47
15.02
14.90
14.93
15.13
14.67
2.13
1.02
1.08
2.48
3.38
1.48
2.19
2.62
1.56
1.55





Figure 4.9.4. Determination of sampling rate and capacity for toluene using SKC 575-002 samplers.

4.10 Desorption efficiency

4.10.1 Charcoal tubes

4.10.1.1 The desorption efficiency (DE) of toluene was determined by liquid-spiking 100-mg portions of charcoal with the analyte at 0.05 to 2 times the TWA target concentration. These samples were stored overnight at ambient temperature and then desorbed and analyzed. The average desorption efficiency over the working range of 0.5 to 2 times the target concentration is 99.0%.

Table 4.10.1.1
Desorption Efficiency of Toluene from Charcoal Tubes


× target concn
mass spiked (µg)
0.05×
451.5
0.1×
903.9
0.2×
1807.8
0.5×
4515.3
1.0×
9039.2
2.0×
18078

DE (%)




96.9
97.7
97.9
97.4
97.3
97.4
97.8
98.0
98.9
98.4
97.8
98.2
98.0
98.9
98.9
98.4
98.6
97.9
98.3
98.9
98.4
98.1
98.6
98.0
100.2
99.2
99.8
99.3
98.7
98.2
98.9
100.4
98.8
99.0
100.4
98.2

mean 97.4 98.2 98.4 98.4 99.2 99.3

4.10.1.2 Stability of desorbed charcoal tubes samples

The stability of desorbed samples was investigated by reanalyzing the target concentration samples 24 h after initial analysis. After the original analysis was performed three vials were recapped with new septa while the remaining three retained their punctured septa. The samples were reanalyzed with fresh standards. The average percent change was -0.5% for samples that were resealed with new septa and -1.5% for those that retained their punctured septa.

Table 4.10.1.2
Stability of Desorbed Charcoal Tube Samples


punctured septa replaced punctured septa retained
initial
DE
(%)
DE after
one day
(%)

difference
initial
DE
(%)
DE after
one day
(%)

difference

100.2
99.2
99.8

99.7
99.7
99.0
99.1
(averages)
99.3
-0.5
-0.2
-0.7

-0.5
99.3
98.7
98.2

98.7
97.7
97.0
97.0
(averages)
97.2
-1.6
-1.7
-1.2

-1.5

4.10.2 Anasorb® 747 tubes

4.10.2.1 The desorption efficiency (DE) of toluene was determined by liquid-spiking 140-mg portions of Anasorb® 747 with the analyte at 0.05 to 2 times the TWA target concentration. These samples were stored overnight at ambient temperature and then desorbed and analyzed. The average desorption efficiency over the working range of 0.5 to 2 times the target concentration is 99.1%.

Table 4.10.2.1
Desorption Efficiency of Toluene from Anasorb® 747 Tubes


× target concn
mass spiked (µg)
0.05×
451.5
0.1×
903.9
0.2×
1807.8
0.5×
4515.3
1.0×
9039.2
2.0×
18078

DE (%)


96.2
98.9
97.6
97.8
95.9
97.4
98.2
98.6
98.1
98.1
97.4
98.2
99.2
99.0
99.5
99.4
98.8
99.0
99.5
99.0
98.7
98.9
98.9
98.9
98.9
99.6
99.6
98.3
98.7
99.1
97.2
99.6
98.8
99.4
100.7
99.7

mean 97.3 98.1 99.2 99.0 99.0 99.2

4.10.2.2 Stability of desorbed Anasorb® 747 tube samples

The stability of desorbed samples was investigated by reanalyzing the target concentration samples 24 h after initial analysis. After the original analysis was performed three vials were recapped with new septa while the remaining three retained their punctured septa. The samples were reanalyzed with fresh standards. The average percent change was -0.6% for samples that were resealed with new septa and -1.5% for those that retained their punctured septa.

Table 4.10.2.2
Stability of Desorbed Anasorb® 747 Tube Samples


punctured septa replaced punctured septa retained
initial
DE
(%)
DE after
one day
(%)

difference
initial
DE
(%)
DE after
one day
(%)

difference

98.9
99.6
99.6

99.4
97.8
99.2
99.4
(averages)
98.8
-1.1
-0.4
-0.2

-0.6
98.3
98.7
99.1

98.7
97.2
97.0
97.5
(averages)
97.2
-1.1
-1.7
-1.6

-1.5

4.10.3 3M 3520 OVMs

4.10.3.1 The desorption efficiency (DE) of toluene was determined by liquid-spiking charcoal pads from 3M 3520 OVMs with the analyte at 0.05 to 2 times the TWA target concentration. These samples were stored overnight at ambient temperature and then desorbed and analyzed. The average desorption efficiency over the working range of 0.5 to 2 times the target concentration is 98.1%.

Table 4.10.3.1
Desorption Efficiency of Toluene from 3M 3520 OVMs


× target concn
mass spiked (µg)
0.05×
259.5
0.1×
519.0
0.2×
1038
0.5×
2595
1.0×
5190
2.0×
10380

DE (%)


99.4
97.9
98.2
98.2
98.6
98.4
98.0
98.4
99.1
98.3
98.0
97.5
98.1
98.5
98.1
98.4
97.8
97.3
98.0
98.3
97.8
99.4
98.0
97.7
98.3
97.7
97.8
97.8
98.2
98.5
98.0
98.0
98.2
97.8
98.1
98.0

mean 98.4 98.2 98.0 98.2 98.0 98.0

4.10.3.2 Stability of desorbed 3M 3520 OVM samples

The stability of desorbed samples was investigated by reanalyzing the target concentration samples 24 h after initial analysis. After the original analysis was performed three vials were recapped with new septa while the remaining three retained their punctured septa. The samples were reanalyzed with fresh standards. The average percent change was +0.7% for samples that were resealed with new septa and +0.3% for those that retained their punctured septa.

Table 4.10.3.2
Stability of Desorbed 3M 3520 OVM Samples


punctured septa replaced punctured septa retained
initial
DE
(%)
DE after
one day
(%)

difference
initial
DE
(%)
DE after
one day
(%)

difference

98.3
97.7
97.8

97.9
98.7
98.5
98.7
(averages)
98.6
+0.4
+0.8
+0.9

+0.7
97.8
98.2
98.5

98.2
98.4
98.5
98.6
(averages)
98.5
+0.6
+0.3
+0.1

+0.3

4.10.4 SKC 575-002 Samplers

4.10.4.1 The desorption efficiency (DE) of toluene was determined by liquid-spiking SKC 575-002 Samplers with the analyte at 0.05 to 2 times the TWA target concentration. These samples were stored overnight at ambient temperature and then desorbed and analyzed. The average desorption efficiency over the working range of 0.5 to 2 times the target concentration is 97.0%.

Table 4.10.4.1
Desorption Efficiency of Toluene from SKC 575-002 Samplers


× target concn
mass spiked (µg)
0.05×
129.8
0.1×
259.5
0.2×
519.0
0.5×
1297.5
1.0×
2595
2.0×
5190

DE (%)


97.6
97.8
98.0
96.6
99.8
98.2
97.4
98.2
99.8
98.4
97.3
97.6
97.2
97.0
96.8
98.9
98.1
97.9
96.0
97.3
97.2
97.1
96.8
96.6
97.4
98.6
97.9
97.7
97.0
97.3
97.0
97.1
97.3
96.7
94.7
96.6

mean 98.0 98.1 97.6 96.8 97.6 96.6

4.10.4.2 Stability of desorbed SKC 575-002 Samplers

The stability of desorbed samples was investigated by reanalyzing the target concentration samples 24 h after initial analysis. After the original analysis was performed three vials were recapped with new septa while the remaining three retained their punctured septa. The samples were reanalyzed with fresh standards. The average percent change was -0.2% for samples that were resealed with new septa and -0.6% for those that retained their punctured septa.

Table 4.10.4.2
Stability of Desorbed SKC 575-002 Samplers


punctured septa replaced punctured septa retained
initial
DE
(%)
DE after
one day
(%)

difference
initial
DE
(%)
DE after
one day
(%)

difference

97.4
98.6
97.9

98.0
97.6
98.1
97.5
(averages)
97.7
+0.2
-0.5
-0.4

-0.2
97.7
97.0
97.3

97.3
97.4
96.1
96.7
(averages)
96.7
-0.3
-0.9
-0.6

-0.6

4.11 Interferences (sampling)

4.11.1 Interference studies were performed by sampling for 240 minutes from a test atmosphere (10% RH, 26°C, 654.8 mmHg) containing 396 ppm of toluene with 50 ppm of 2-butanone (MEK), 20 ppm of 4-methyl-2-pentanone (MIBK), 20 ppm of 1-butanol, 30 ppm of isobutyl acetate and 30 ppm of xylene. The average results for the adsorbent tubes did not deviate from the theoretical concentration of toluene by more than three standard deviations of the Day 0 storage samples in Section 4.7 (RSD = 1.07% for charcoal and 1.93% for Anasorb® 747 tubes). The average results for the diffusive samplers did not deviate from the theoretical concentration of toluene by more than three standard deviations based on the sampling rates determined in Section 4.9.3 for 3M OVMs (RSD = 3.49%) and in Section 4.9.4 for SKC 575-002 samplers (RSD = 2.39%). The presence of these compounds, which may represent typical substances that may be collected with toluene, did not have a significant effect on sample results using any of the samplers.

Table 4.11.1
Recovery (%) from the Atmosphere Described in 4.11.1 for Each Sampler


sample
no.
Charcoal
Tubes
Anasorb® 747
Tubes
3M
OVMs
SKC 575-002
Samplers

1
2
3
4
5
6

mean
102.5
100.9
105.8
102.3
99.7
102.0

102.2
98.5
99.2
99.6
100.2
99.6
98.7

99.3
107.5
106.9
102.2
105.7
98.1
109.8

105.0
96.0
98.7
97.5
100.7
96.1
96.8

97.6

4.11.2 Short-term sampling interference studies were performed by sampling for 1 minute from a test atmosphere (10% RH, 25°C, 654.3 mmHg) containing 495 ppm of toluene with 50 ppm of 2-butanone (MEK), 20 ppm of 4-methyl-2-pentanone (MIBK), 20 ppm of 1-butanol, 30 ppm of isobutyl acetate and 30 ppm of xylene. The average results for the adsorbent tubes did not deviate from the theoretical concentration of toluene by more than three standard deviations of the Day 0 storage samples in Section 4.7 (RSD = 1.07% for charcoal and 1.93% for Anasorb® 747 tubes). The average results for the diffusive samplers did not deviate from the theoretical concentration of toluene by more than three standard deviations based on the sampling rates determined in Section 4.9.3 for 3M OVMs (RSD = 3.49%) and in Section 4.9.4 for SKC 575-002 samplers (RSD = 2.39%).

Table 4.11.2
Recovery (%) from the Atmosphere Described in 4.11.2 for Each Sampler


sample
no.
Charcoal
Tubes
Anasorb® 747
Tubes
3M
OVMs
SKC 575-002
Samplers

1
2
3
4
5
6

mean
96.5
98.1
97.8
100.7
94.8
96.4

97.4
95.4
96.6
97.7
99.3
98.8
95.0

97.1
113.0
113.0
105.7
111.6
105.7
111.8

110.1
103.0
106.3
106.7
102.4
102.8
112.4

105.6

4.11.3 A reverse diffusion study for the diffusive samplers and a stripping study for the adsorbent tubes was performed by sampling a 402 ppm atmosphere of toluene (78% RH, 23.5°C, 649.2 mmHg) for 120 minutes with six of each samplers. Three samplers from each set were additionally subjected to 120 minutes of the same atmosphere without the toluene present to determine if any of the collected toluene diffused off of the diffusive samplers and also whether it was stripped off of the adsorbent tubes. Upon analysis of the samples, the average recovery of the removed samplers versus the average recovery of the samplers that were additionally exposed to the atmosphere without toluene was within 90% for all samplers, indicating that reverse diffusion and stripping is not significant. The first three samples in Table 4.11.3 for each sampler were used to sample the toluene atmosphere for 120 minutes, while the last three were additionally exposed to a blank atmosphere for another 120 minutes.

Table 4.11.3
Recovery (%) for the Circumstances Described in 4.11.3 for Each Sampler
(Samples 1-3 used to sample toluene atmosphere for 120 minutes,
samples 4-6 for an additional 120 minutes of blank atmosphere)


sample
no.
Charcoal
Tubes
Anasorb® 747
Tubes
3M
OVMs
SKC 575-002
Samplers

1
2
3
mean(1-3)

4
5
6
mean(4-6)

mean(4-6)/mean(1-3)
99.6
98.2
100.0
99.3

100.4
100.1
100.1
100.2

1.01
97.9
98.3
98.2
98.1

97.6
97.1
98.2
97.6

1.00
99.7
101.9
94.0
98.5

99.9
99.4
99.5
99.6

1.01
108.6
101.0
99.3
103.0

105.0
100.4
98.4
101.3

0.98

4.11.4 The effects from sampling from relatively dry atmospheres was investigated by sampling from a 403.2-ppm toluene atmosphere (9% RH, 25.3°C, 654.5 mmHg) for 240 minutes and from a 499-ppm atmosphere (9% RH, 26.1°C, 653.9 mmHg) for 1 minute with all four samplers. The average results for the adsorbent tubes did not deviate from the theoretical concentration of toluene by more than three standard deviations of the Day 0 storage samples in Section 4.7 (RSD = 1.07% and 1.94% for 240-min and 1-min charcoal tube samples respectively, RSD= 1.93% and 1.38% for 240-min and 1-min Anasorb® 747 tube samples respectively). The average results for the diffusive samplers did not deviate from the theoretical concentration of toluene by more than three standard deviations based on the sampling rates determined in Section 4.9.3 for 3M OVMs (RSD = 3.49%) and in Section 4.9.4 for SKC 575-002 samplers (RSD = 2.39%).

Table 4.11.4.1
Recovery (%) for 240-minute Samples from a
Dry 403.2-ppm Toluene Atmosphere for Each Sampler


sample
no.
Charcoal
Tubes
Anasorb® 747
Tubes
3M
OVMs
SKC 575-002
Samplers

1
2
3
4
5
6

mean
99.2
98.0
99.3
99.8
99.9
98.8

99.2
99.0
98.6
98.5
96.9
98.8
97.1

98.2
110.5
101.4
104.0
103.2
98.6
101.7

103.2
96.4
99.1
100.1
97.4
102.1
98.0

98.8





Table 4.11.4.2
Recovery (%) for 1-minute Samples from a
Dry 499-ppm Toluene Atmosphere for Each Sampler


sample
no.
Charcoal
Tubes
Anasorb® 747
Tubes
3M
OVMs
SKC 575-002
Samplers

1
2
3
4
5
6

mean
98.6
98.0
97.7
100.3
97.5
96.9

98.2
98.0
99.3
99.0
100.8
100.2
98.1

99.2
112.6
113.9
106.7
103.2
109.9
107.6

109.0
104.8
106.0
105.7
103.2
105.0
109.4

105.7

4.11.5 The effects from sampling from atmospheres containing low concentrations of toluene was investigated by sampling from a 19.8-ppm toluene atmosphere (74% RH, 26.0°C, 651.4 mmHg) for 240 minutes and from a 49.3-ppm atmosphere (73% RH, 27.8°C, 650.7 mmHg) for 1 minute with all four samplers. The average results for the adsorbent tubes did not deviate from the theoretical concentration of toluene by more than three standard deviations of the Day 0 storage samples in Section 4.7 (RSD = 1.07% and 1.94% for 240-min and 1-min charcoal tube samples respectively, RSD= 1.93% and 1.38% for 240-min and 1-min Anasorb® 747 tube samples respectively). The average results for the diffusive samplers did not deviate from the theoretical concentration of toluene by more than three standard deviations based on the sampling rates determined in Section 4.9.3 for 3M OVMs (RSD = 3.49%) and in Section 4.9.4 for SKC 575-002 samplers (RSD = 2.39%).

Table 4.11.5.1
Recovery (%) for 240-minute Samples from a
19.8-ppm Toluene Atmosphere for Each Sampler


sample
no.
Charcoal
Tubes
Anasorb® 747
Tubes
3M
OVMs
SKC 575-002
Samplers

1
2
3
4
5
6

mean
97.8
98.7
98.1
99.2
98.4
98.1

98.4
100.2
98.5
97.2
98.8
101.4
100.0

99.4
104.4
108.1
101.5
94.8
100.3
97.2

101.0
97.6
99.2
97.9
99.5
100.3
101.6

99.4





Table 4.11.5.2
Recovery (%) for 1-minute Samples from a
49.3-ppm Toluene Atmosphere for Each Sampler


sample
no.
Charcoal
Tubes
Anasorb® 747
Tubes
3M
OVMs
SKC 575-002
Samplers

1
2
3
4
5
6

mean
97.3
97.7
100.7
90.3
94.4
92.4

95.5
107.1
99.6
105.8
103.0
101.2
99.3

102.7
112.0
107.2
108.5
110.6
106.8
104.6

108.3
111.9
96.2
103.9
104.1
114.0
96.0

104.4

4.12 Desorption efficiency from wet samplers

The desorption efficiency from wet samplers was investigated by spiking samplers with amounts of toluene (9039 µg for the adsorbent tubes, 5190 µg for the 3M OVMs and 2595 µg for the SKC 575-002 samplers) approximately equivalent to the mass that would be collected for 240 minutes from atmospheres containing 200 ppm. Before being spiked with toluene, humid air (~80% RH, 25°C) had been drawn through the adsorbent tubes at 50 mL/min for 240 minutes. Similarly, the diffusive samplers had been exposed to the humid atmosphere for 240 minutes. The desorption efficiencies were comparable to those reported in Section 2.5.

Table 4.12
Desorption Efficiency (%) from Wet Samplers


sample
no.
Charcoal
Tubes
Anasorb® 747
Tubes
3M
OVMs
SKC 575-002
Samplers

1
2
3
4
5
6

mean
97.8
97.7
97.5
98.5
98.3
98.5

98.0
97.3
98.5
97.8
98.1
98.5
98.3

98.1
97.4
97.5
97.6
98.8
100.7
97.5

98.2
98.4
97.1
100.1
97.3
97.4
96.2

97.8

4.13 Qualitative analysis

Toluene can easily be identified by GC/mass spectrometry. A typical mass spectrum of toluene is shown in Figure 4.13.

Figure 4.13. Representative mass spectrum of toluene.

5. References

5.1 Otterson, E. J.; Guy, C. U. Transactions of the Twenty-Sixth Annual Meeting of the American Conference of Governmental Industrial Hygienists, Philadelphia, PA, 1964; pp 37-46.

5.2 White, L. D.; Taylor, D. G.; Mauer, P. A.; Kupel, R. E. Am. Ind. Hyg. Assoc. J., 1970, 31, 225-232.

5.3 NIOSH Manual of Analytical Methods, 2nd ed. Vol. 1; U.S. Department of Health, Education and Welfare, Public Health Service, Centers for Disease Control, National Institute for Occupational Safety and Health; Cincinnati, OH, 1977, Method P&CAM 127, DHEW (NIOSH) Publication No. 77-157-A.

5.4 NIOSH Manual of Analytical Methods, 2nd ed. Vol. 3; U.S. Department of Health, Education and Welfare, Public Health Service, Centers for Disease Control, National Institute for Occupational Safety and Health; Cincinnati, OH, 1977, Method S343, DHEW (NIOSH) Publication No. 77-157-C.

5.5 OSHA Analytical Methods Manual; Vol. 1; U.S. Department of Labor, Occupational Safety and Health Administration; Directorate for Technical Support, OSHA Salt Lake Technical Center: Salt Lake City, UT, 1990; Method 7: Organic Vapors; American Conference of Governmental Industrial Hygienists (ACGIH): Cincinnati, OH, Publication No. 4542.

5.6 Elskamp, C. J., A Study to Determine (1) How Much Water is Collected by SKC Lot 120 Activated Charcoal at Various Relative Humidities, (2) How the Presence of Water Effects the Apparent Desorption Efficiency of 2-Methoxyethanol from Lot 120 Charcoal, and (3) How Effective Anhydrous Magnesium Sulfate is in Removing Water During the Desorption Process, OSHA Salt Lake Technical Center, unpublished, Salt Lake City, UT 84115-1802, January 1994.

5.7 OSHA Analytical Methods Manual; Vol. 4; U.S. Department of Labor, Occupational Safety and Health Administration; Directorate for Technical Support, OSHA Salt Lake Technical Center: Salt Lake City, UT, 1993; Method 91: Methyl Alcohol; American Conference of Governmental Industrial Hygienists (ACGIH): Cincinnati, OH, Publication No. 4542.

5.8 OSHA Analytical Methods Manual; Vol. 4; U.S. Department of Labor, Occupational Safety and Health Administration; Directorate for Technical Support, OSHA Salt Lake Technical Center: Salt Lake City, UT, 1993; Method 100: Ethyl Alcohol; American Conference of Governmental Industrial Hygienists (ACGIH): Cincinnati, OH, Publication No. 4542.

5.9 Eide, M. "OSHA Method No. 109, Isopropyl Alcohol"; OSHA Salt Lake Technical Center, unpublished, Salt Lake City, UT 84115-1802, June 1997.

5.10 Hendricks, W. Development of a Protocol for Laboratory Testing of Diffusive Samplers, OSHA Salt Lake Technical Center, unpublished, Salt Lake City, UT 84115-1802, December 1996.

5.11 Elskamp, C. J., The Collection of Water by 3M and SKC Diffusive Samplers from Humid Air, OSHA Salt Lake Technical Center, unpublished, Salt Lake City, UT 84115-1802, January 1997.

5.12 Proctor and Hughes' Chemical Hazards of the Workplace, 3rd ed.; Hathaway, G. J.; Proctor, N. H.; Hughes, J. P.; Fischman, M. L., Eds.; Van Nostrand Reinhold: New York, 1991, pp 546-547.

5.13 The Merck Index, 12th ed.; Budavari, S., Ed.; Merck & Co., Whitehouse Station, NJ, 1996, p 9666.

5.14 Kirk-Othmer Encyclopedia of Chemical Technology, 3rd ed.; Grayson, M., Ed.; John Wiley & Sons: New York, 1983, Vol. 23; pp 246-273.

5.15 Hawley's Condensed Chemical Dictionary, 12th ed.; Revised by Lewis, R. J.; Van Nostrand Reinhold: New York, 1993; p 1157.

5.16 Nelson, G. O. Gas Mixtures: Preparation and Control; Lewis: Boca Raton, 1992; Appendix M.

5.17 Hendricks, W., Determination of the Sampling Rate Variation for SKC 575 Series Passive Samplers, OSHA Salt Lake Technical Center, unpublished, Salt Lake City, UT 84115-1802, April 1998.